EasyManua.ls Logo

Renkforce MP5000 - Raccordements Et Éléments De Commande

Renkforce MP5000
Print Icon
To Next Page IconTo Next Page
To Next Page IconTo Next Page
To Previous Page IconTo Previous Page
To Previous Page IconTo Previous Page
Loading...
39
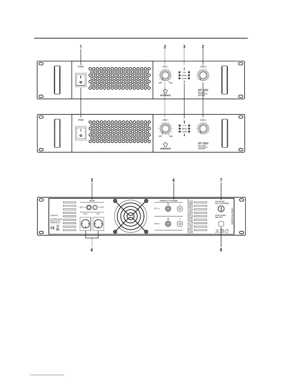
6. Raccordements et éléments de commande
(1) Interrupteur d’alimentation POWER
(2) Bouton de réglage du volume LEVEL
(3) Achage du statut
(4) Prise d’entrée LINE IN XLR
(5) Prise d’entrée LINE IN Cinch
(6) Sorties haut-parleurs POWER OUT
(7) Porte-fusible FUSE
(8) Cordon d’alimentation

Table of Contents

Related product manuals