EasyManua.ls Logo

Renkforce MP5000 - Aansluitingen En Bedieningselementen

Renkforce MP5000
Print Icon
To Next Page IconTo Next Page
To Next Page IconTo Next Page
To Previous Page IconTo Previous Page
To Previous Page IconTo Previous Page
Loading...
55
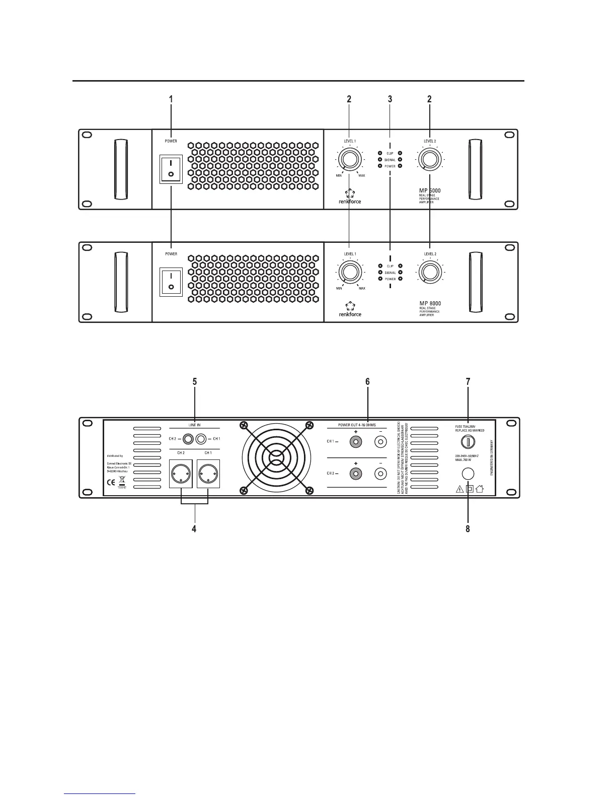
6. Aansluitingen en bedieningselementen
(1) Netschakelaar POWER
(2) Volumeregelaar LEVEL
(3) Statusindicatoren
(4) Ingangsbussen LINE IN XLR
(5) Ingangsbussen LINE IN cinch
(6) Luidsprekeruitgangen POWER OUT
(7) Zekeringhouder FUSE
(8) Netsnoer

Table of Contents

Related product manuals