EasyManua.ls Logo

Renogy ROVER 30A - Operation; Main Display

Renogy ROVER 30A
64 pages
Print Icon
To Next Page IconTo Next Page
To Next Page IconTo Next Page
To Previous Page IconTo Previous Page
To Previous Page IconTo Previous Page
Loading...
16
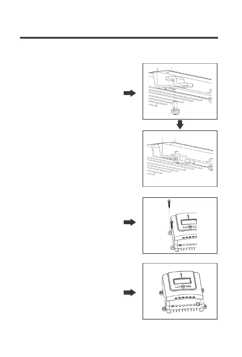
Align the mounting brackets to desired
surface and use the appropriate screws to drill
into surface (screws not included)
Step 2.
Verify mounting is secure
Step 3.
Install the brackets using the provided
components
Using Mounting Brackets
Step 1.