EasyManua.ls Logo

RESERVE V2 - Accessories and Installation

Default Icon
80 pages
Print Icon
To Next Page IconTo Next Page
To Next Page IconTo Next Page
To Previous Page IconTo Previous Page
To Previous Page IconTo Previous Page
Loading...
Installation
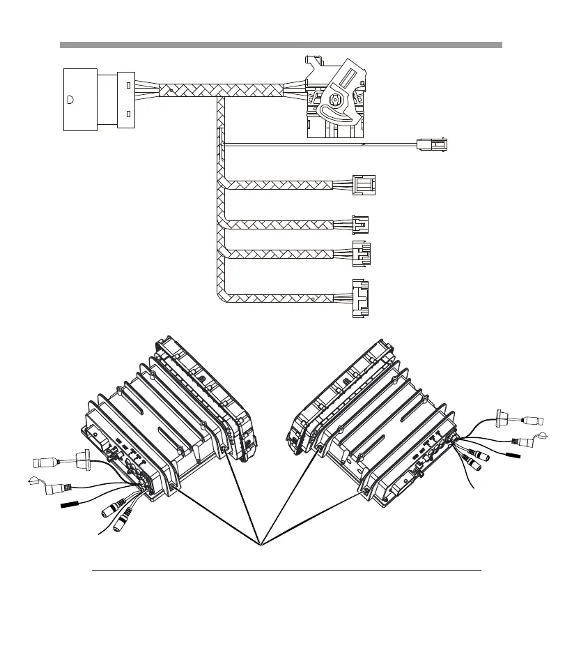
Harness Included!
Accessories and Installation
Use OEM head unit mounting locations & original screws
4