EasyManua.ls Logo

Retsch BB200 - Control Elements and Their Use; Schematic View of the Operating Controls, Part 2

Retsch BB200
24 pages
Print Icon
To Next Page IconTo Next Page
To Next Page IconTo Next Page
To Previous Page IconTo Previous Page
To Previous Page IconTo Previous Page
Loading...
04/05/2012 Retsch GmbH 11
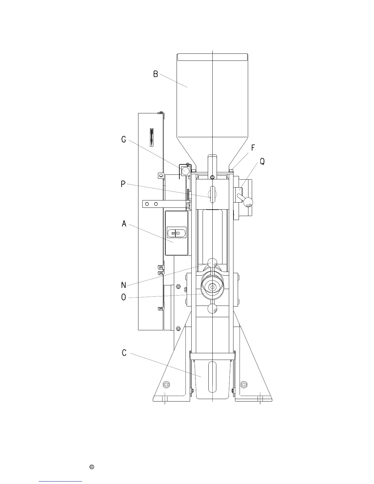
Control elements and their use
Schematic view of the operating controls, part 2:
Front view