EasyManua.ls Logo

Reznor SCE 200 - Optional Filter Rack and Filters

Reznor SCE 200
48 pages
Print Icon
To Next Page IconTo Next Page
To Next Page IconTo Next Page
To Previous Page IconTo Previous Page
To Previous Page IconTo Previous Page
Loading...
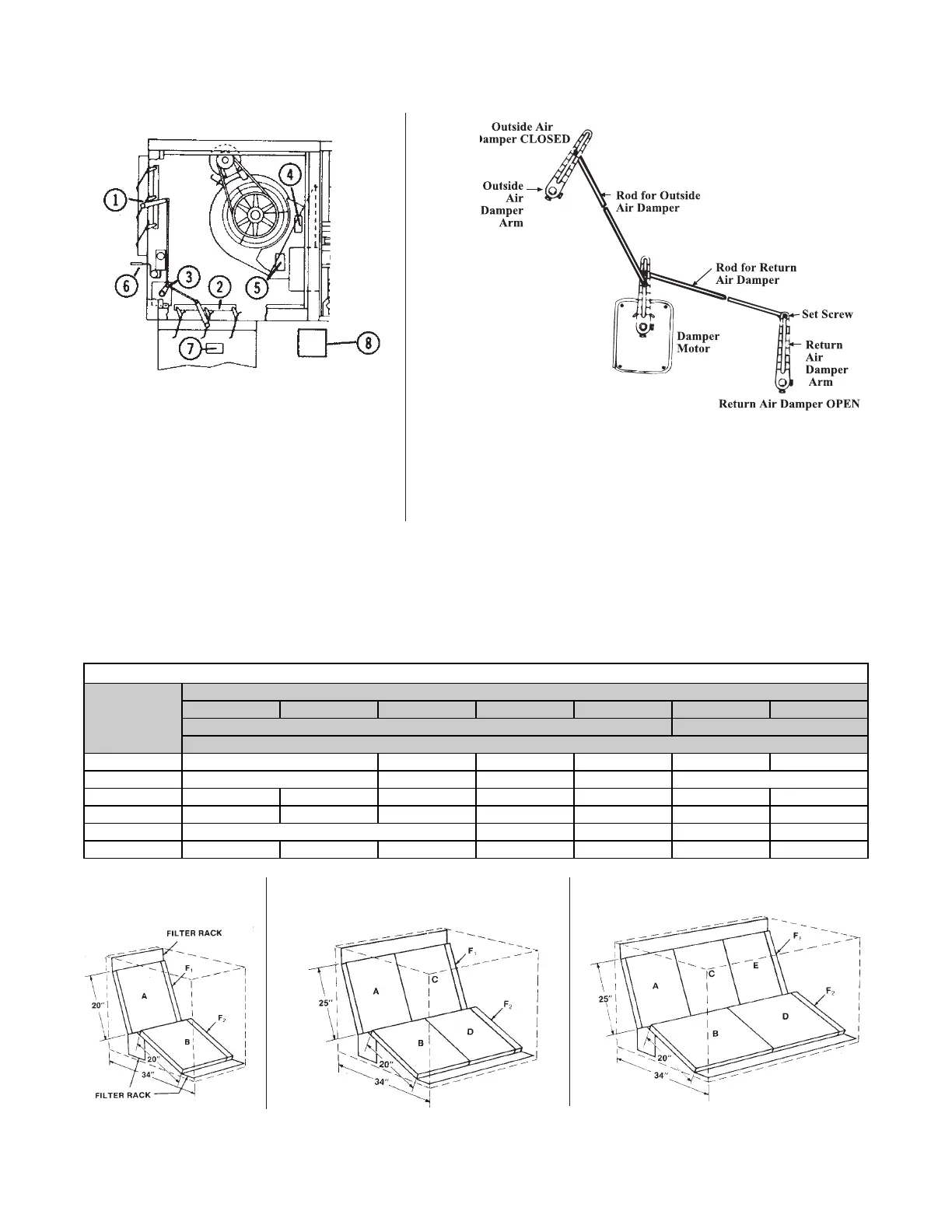
Figure 33. Optional Dampers and Controls
OPTIONAL FILTER RACK AND FILTERS
Filter racks and filters are factory-installed optional equipment on indoor systems. 1- or 2-inch filters are available in
disposable, pleated disposable, or permanent filter options. Filter and metal filler specifications are listed in Table
20, and filter arrangements—including filter and filler quantities—are shown in Figure 34.
Damper Linkage --
When units are equipped
with dampers, the dampers
are closed during shipment.
When there are both return
air and outside air dampers,
the return damper linkage
must be adjusted prior to use.
1. Loosen the set screw on the return air damper rod at the damper
arm.
2. Manually open the return air dampers. While the dampers are open-
ing, the damper rod and arm will automatically move to their correct
positions.
3. Tighten the set screw.
(1)
Outside Air Damper
(2)
Return Air Damper
(3)
Damper Motor
(4)
Potentiometer
NOTE: The illustration is intended to show location
only of various air control accessories and does not
represent suggested combinations of accessories.
(5) Potentiometer
(6) Mixed Air Controller
(7) Warmup Control
(8) Remote Potentiometer
Table 20. Filter and Metal Filler Specifications
Model
Letter Designation (See Figure 34)
A B C D E F1 F2
Filters Metal Fillers
Size (Inches)
125 20 × 20
150 and 175 20 × 25 13/16
200 and 225 16 × 25 16 × 20 16 × 25 16 × 20
250 and 300 20 × 25 20 × 20 20 × 25 20 × 20
350 20 × 25 20 × 20 4-13/16
400 16 × 25 20 × 25 16 × 25 20 × 25 16 × 25 2-5/8 1-1/16
OPTIONAL DAMPERS AND CONTROLS—CONTINUED
MODELS 125–175 MODELS 200–350 MODEL 400
Figure 34. Filter Arrangements

Table of Contents