EasyManua.ls Logo

RIDGID AC9944 - Operation; Using Extension Arms and Support Legs

RIDGID AC9944
20 pages
Print Icon
To Next Page IconTo Next Page
To Next Page IconTo Next Page
To Previous Page IconTo Previous Page
To Previous Page IconTo Previous Page
Loading...
14
OPERATION
WARNING:
Do not allow familiarity with products to make you
careless. Remember that a careless fraction of a
second is sufficient to inflict severe injury.
WARNING:
Always wear safety goggles or safety glasses with
side shields when operating products. Failure to do
so could result in objects being thrown into your
eyes resulting in possible serious injury.
WARNING:
Do not use any attachments or accessories
not recommended by the manufacturer of this
tool. The use of attachments or accessories not
recommended can result in serious personal
injury.
APPLICATIONS
You may use this product for the purpose listed below:
To provide a stable, secure work surface for a miter
saw
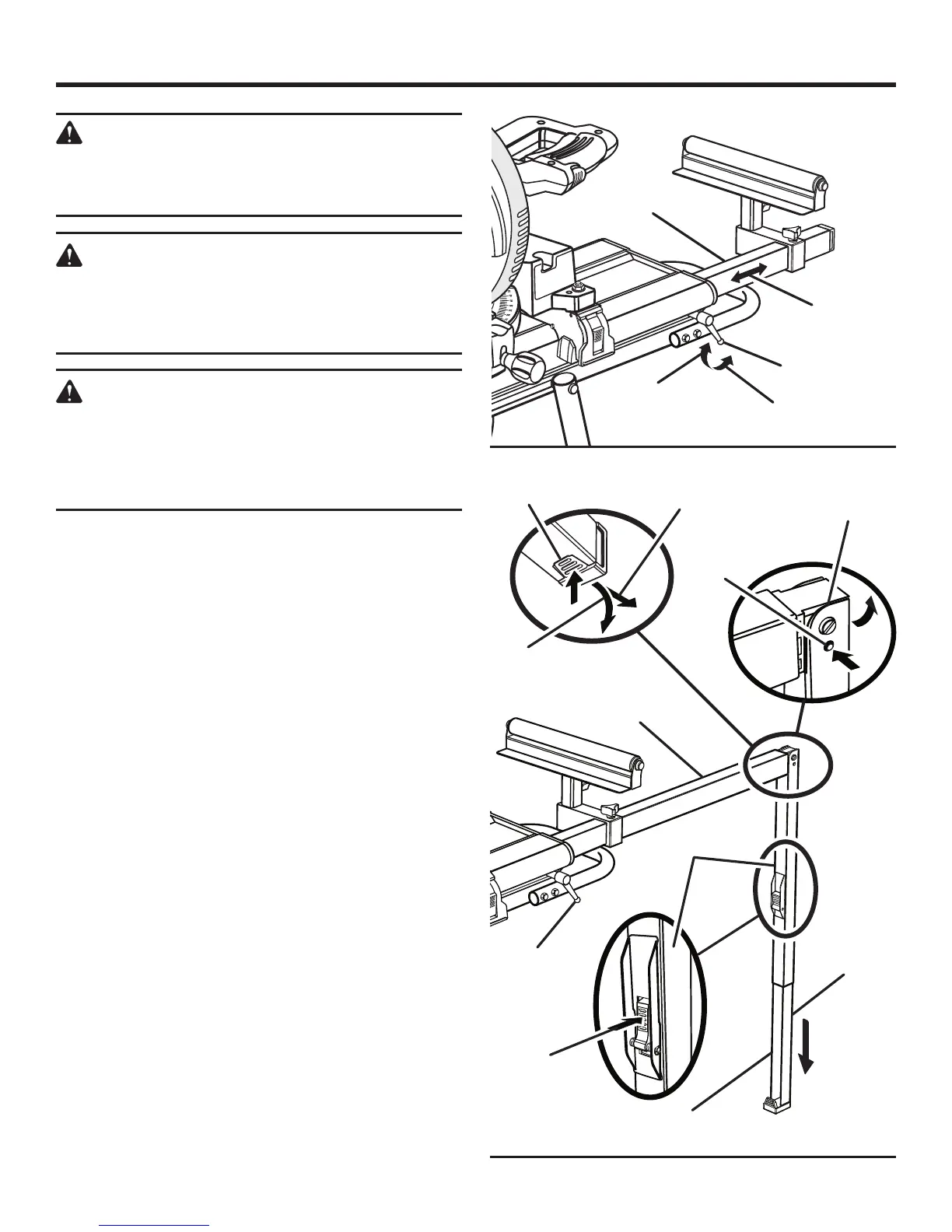
U S I N G T H E E X T E N S I O N A R M S A N D
SUPPORT LEGS
See Figures 18 - 19.
Use the extension arms when working with larger workpieces.
Both extension arms may be adjusted to provide maximum
workpiece support.
To extend the extension arms:
Loosen the extension arm locking lever.
Extend the extension arm to the desired position.
Tighten the extension arm locking lever.
To extend the support legs:
Press latch at end of extension arm and pull leg outward
from arm until hinge is fully exposed. The leg will bend
at hinge and face in a downward position.
Press and hold latch in middle of support leg. Extend
adjustment leg completely to the ground.
To retract extension arms and support legs:
Press and hold latch in middle of support leg to release
adjustment leg. Push adjustment leg into support leg until
it locks into place.
Push release button on hinge and rotate support leg into
horizontal position. Push support leg into extension arm
until locked into position.
Unlock the extension arm locking lever.
Push extension arm fully into stand for storage.
Lock the extension arm locking lever.
Fig. 18
Fig. 19
15
20
25
30
35
40
45
10
LOOSEN
TIGHTEN
EXTENSION ARM
ADJUST IN - OUT
LATCH ON
UNDERSIDE
PULL LEG
EXTENSION OUTWARD
PULL
LEG DOWN
LATCH
EXTENSION
ARM
RELEASE
BUTTON
HINGE
POINT
ADJUST LEG
EXTENSION UNTIL STABLE
SUPPORT LEG
ADJUSTMENT
LEG
EXTENSION
ARM LOCKING
LEVER
EXTENSION
ARM LOCKING
LEVER

Related product manuals