EasyManua.ls Logo

RITKEEP PMAX-5600 - STEP 7

RITKEEP PMAX-5600
27 pages
Print Icon
To Next Page IconTo Next Page
To Next Page IconTo Next Page
To Previous Page IconTo Previous Page
To Previous Page IconTo Previous Page
Loading...
10
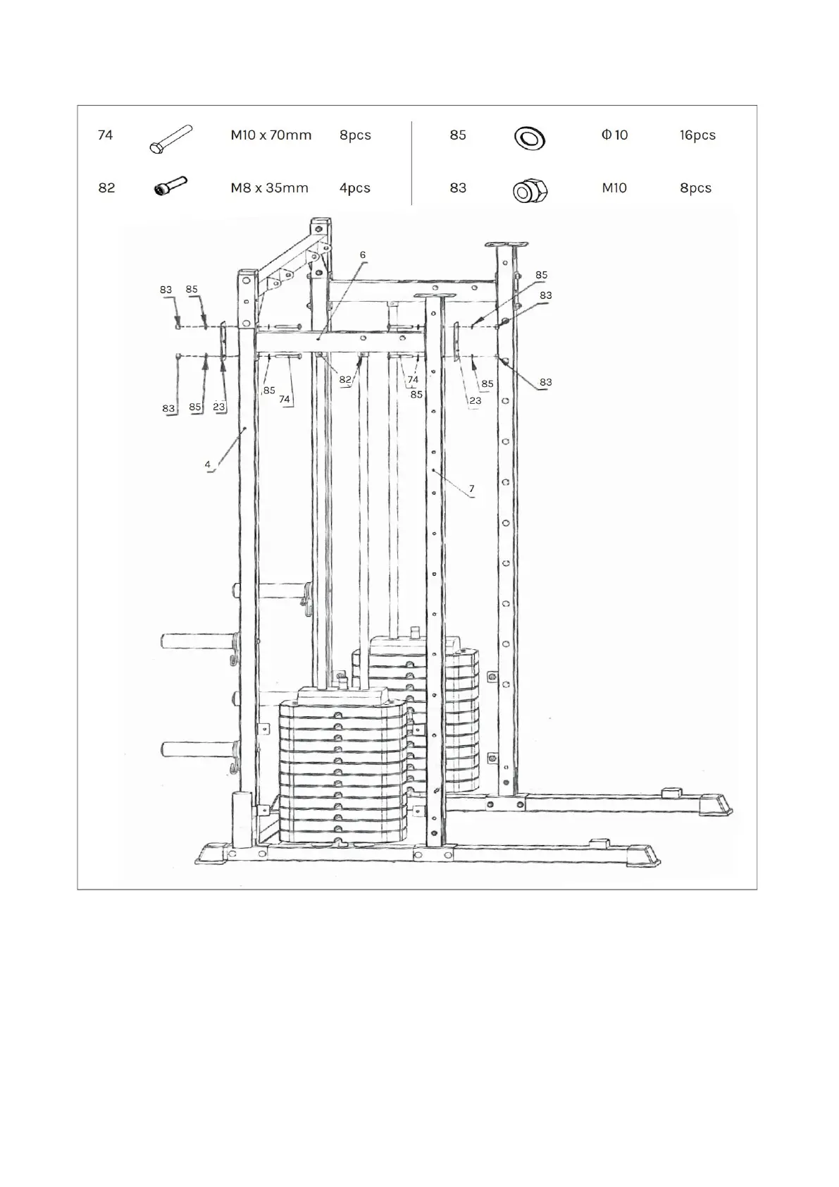
STEP7
1. Secure part (#6) to part (#4) and (#7) using:
- 2x part (#23) - 4x part (#74)
- 8x part (#85) - 4x part (#83)
2. Secure part (#16) onto part (#6) with 2x part (#82).
3. Repeat steps 1 and 2 on the other side.