EasyManua.ls Logo

Roberts 10-91 - Page 20

Roberts 10-91
36 pages
Print Icon
To Next Page IconTo Next Page
To Next Page IconTo Next Page
To Previous Page IconTo Previous Page
To Previous Page IconTo Previous Page
Loading...
- 19 -
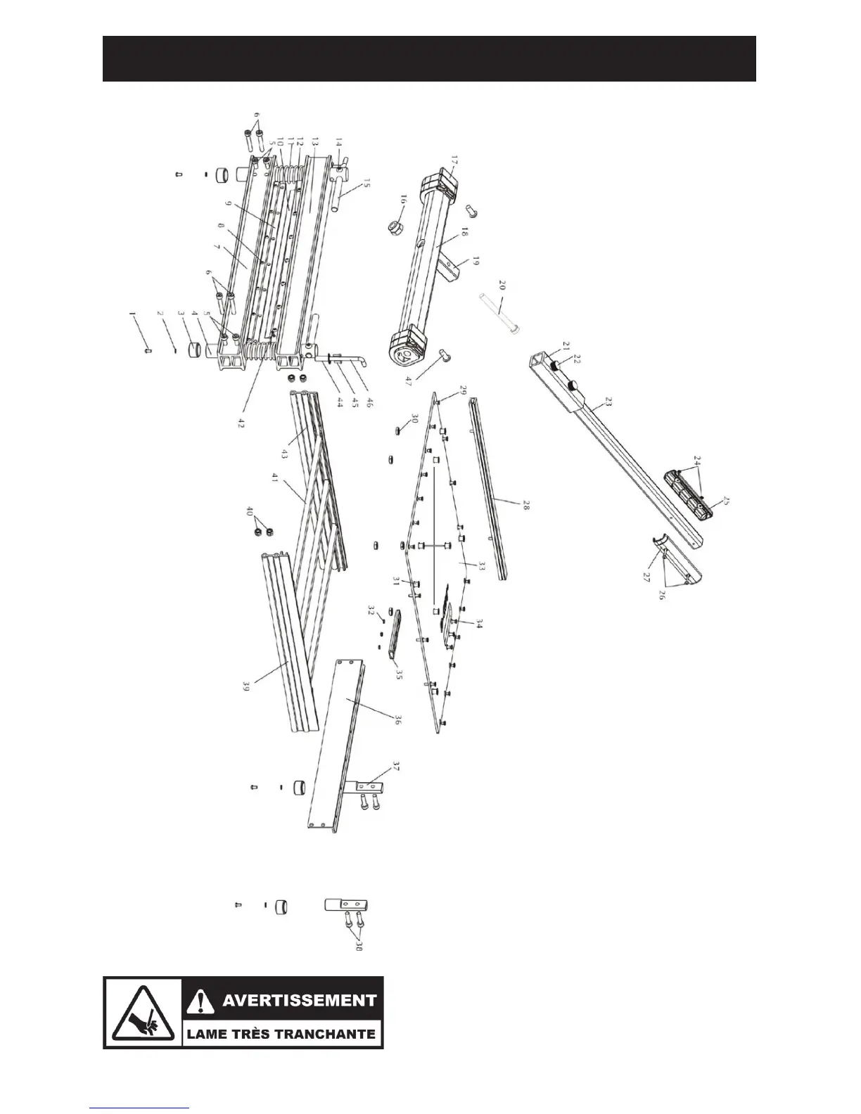
ROBERTS 10-99 DIAGRAMME DES PIÈCES

Related product manuals