EasyManua.ls Logo

Rolls-Royce Silver Shadow II - Page 87

Rolls-Royce Silver Shadow II
211 pages
Print Icon
To Next Page IconTo Next Page
To Next Page IconTo Next Page
To Previous Page IconTo Previous Page
To Previous Page IconTo Previous Page
Loading...
I
I
J
26
5
76
--
~
--1
WP-P
WP-P
GR-P
9
8
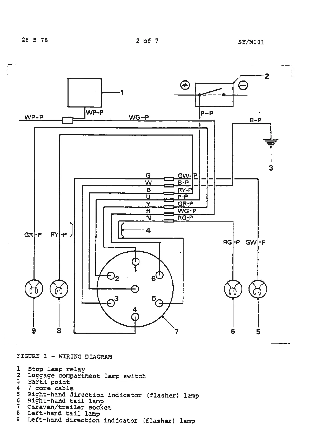
FIGURE
l - WIRING DIAGRAM
1
Stop
lamp
relay
2
of
7
WG-P
Y GR-P
R
WG·P
N RG-P
7
2 Luggage
co~artment
la.mp
switch
3
Earth
point
4 7
core
cable
5
Right-hand
direction
indicator
(flasher)
lamp
6
Right-hand
tail
lamp
7
Caravan/trailer
socket
8
Left-hand
tail
lamp
9
Left-hand
direction
indicator
(flasher)
lamp
P-P
SY/MlOl
=1
I
.
---2
I
e
B-P
-
-
-
I
3
RG-P
GW
·P
6
5

Related product manuals