EasyManua.ls Logo

RoomTec Murphy Bed Building Queen Vertical - Part G: Bed Cabinet Verticals (Left); Vertical Cabinet Assembly Steps

RoomTec Murphy Bed Building Queen Vertical
29 pages
Print Icon
To Next Page IconTo Next Page
To Next Page IconTo Next Page
To Previous Page IconTo Previous Page
To Previous Page IconTo Previous Page
Loading...
G.BED
CABINET
VERTICAL
S (LEFT)
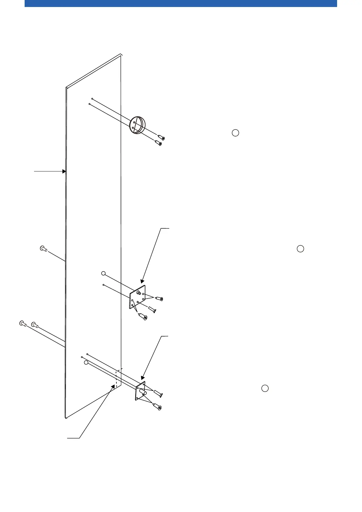
Step 22:
Ball stud nut fits in the hole.
Note:
On left and right bed verticals, a cut can be
made to accommodate existing base molding
so cabinet will fit flush against the wall.
OPTION:
- 23 -
Front finished edge
Drill a hole 5/8" x 1/2" deep and insert nut into hole.
Mount plate to the vertical with four (4) black
screws and one(1)"T" Nut and machine screw.
BED STOP: Drill two (2) holes 5/16" diameter x
1/2" deep. Insert the bed stop pin into hole and
attach with two (2) black screws.
Measurements For QUEEN Vertical (Upright) ONLY Using 3/4" PLYWOOD Face Panel.
Step 23:
UPPER PISTON PLATE WITH BALL STUD:
MALE PIVOT PLATE: Drill a hole 5/8" diameter x
1/2" deep. Insert the 1/2" end of rod into hole. Drill
two (2) holes 1/4" diameter through the vertical
using the upper holes in the pivot plate as a guide.
Tap "T" Nuts into two (2) upper holes from outside
then screw 1/4" machine screws through pivot plate
into "T" Nuts. Screw two (2) silver screws through
pivot plate holes into vertical.
Step 24:
PART G : BED CABINET VERTICALS (LEFT)
B
B
A

Related product manuals