EasyManua.ls Logo

Rosewill 6A Series - Audio Port

Rosewill 6A Series
14 pages
Print Icon
To Next Page IconTo Next Page
To Next Page IconTo Next Page
To Previous Page IconTo Previous Page
To Previous Page IconTo Previous Page
Loading...
CASE 6A series
User Manual
12
© 2004-2006 Rosewill Inc. All rights reserved by Rosewill
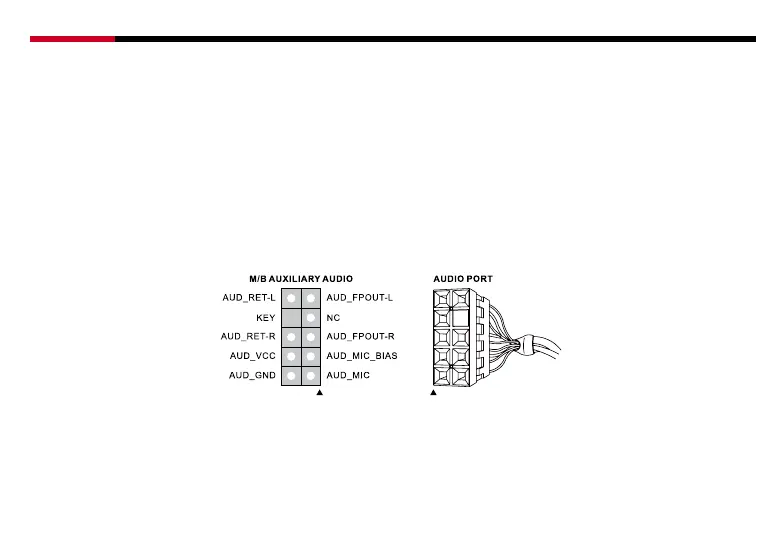
9.Audio Port
PIN ARRANGEMENT OF AUDIO CABLE
1. Before connecting your audio cable please make sure that your motherboard is compatible with Auxiliary Audio. The easiest way
to check this is to look into your motherboard manual under the detailed descriptions of the various interfaces. Most frequently
there will be a picture of the pins with which the cable is attached.
2. Each pin is defined very strictly. Please pay attention to the figures below, which helps install the audio cable fast, safely and easily.
Any installation mistake may cause severe damage to your motherboard and other components.
3. Remove the 5-6, 9-10 connecting jumpers from the audio pins on your M/B. Please note : the jumpers are removed ONLY when
there is audio port on the M/B.
4. The Audio connector design is to prevent installation error. Please connect the audio port & M/B audio pin. See the figures as
below.

Related product manuals