EasyManua.ls Logo

Roto 125 FS - 7. Settings; 7.1 The valves adjustment

Roto 125 FS
20 pages
Print Icon
To Next Page IconTo Next Page
To Next Page IconTo Next Page
To Previous Page IconTo Previous Page
To Previous Page IconTo Previous Page
Loading...
ROTOmotor Ltd., Czech Republic - Europe
ROTO 125 FS
ROTOmotor Ltd., Czech Republic - Europe
Operating instructions
ROTOmotor manufacturer of top four-stroke engines
Page:12
Settings
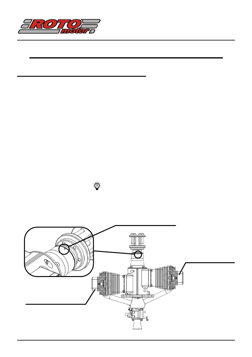
First cylinder head
Second cylinder head
Top Dead Center
Top Dead Center mark
7.
7.1 The valves adjustment
For the operation and long-term operation of the engine, the correct valve clearance must be
checked after the rst 2-3 hours of operation.
Follow these steps to check and adjust:
Unscrew the rocker arm cover bolts on the cylinder heads and then remove the rocker arm
covers. Adjust the piston to the top dead center so that the mark on the propeller hub is in
alignment with the crankcase dividing plane of the engine on the top of the engine.
Then start adjusting the clearances on the side where the valves are not cut shear! This means
where there is a slight clearance on both rockers.
Valves adjustment:
Loosen the lock nut with a wrench and turn the screw. Set the required clearance with the help
of a feeler gauge.
Then tighten the lock nut again and proceed to adjust the second valve.
Repeat this on the other side of the engine, turning the crankshaft 360 °.
Then complete the engine.
Rotates counterclockwise
Now the rocker arm clearance is adjusted. Future adjustments are only necessary
when disassembling certain important parts.

Related product manuals