EasyManua.ls Logo

RS PRO IPS-3610D - Page 84

RS PRO IPS-3610D
96 pages
Print Icon
To Next Page IconTo Next Page
To Next Page IconTo Next Page
To Previous Page IconTo Previous Page
To Previous Page IconTo Previous Page
Loading...
I8
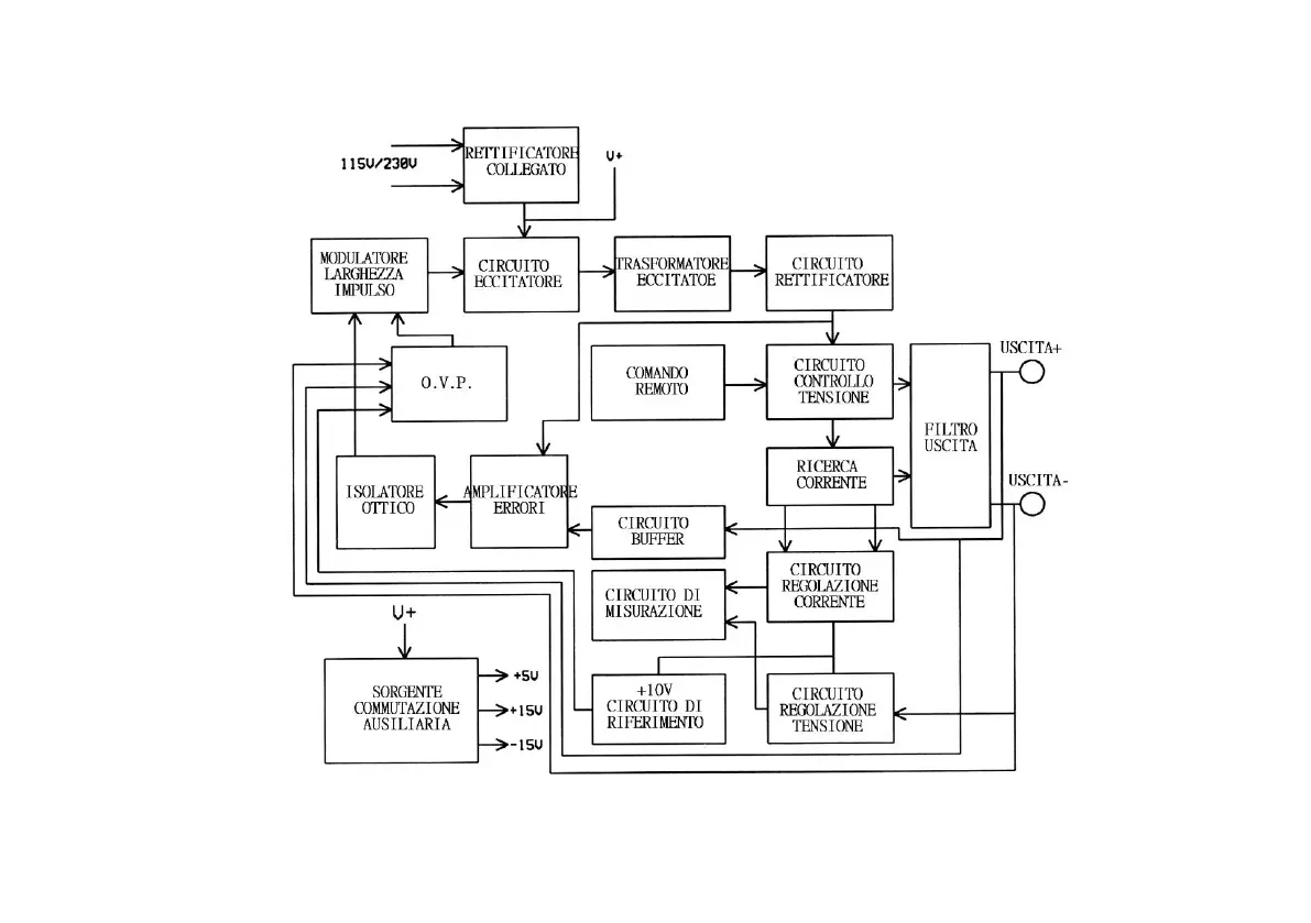
Figura 1: Diagramma di blocco

Table of Contents

Related product manuals