EasyManua.ls Logo

Ryobi RY3818 - Felling Trees

Ryobi RY3818
120 pages
Print Icon
To Next Page IconTo Next Page
To Next Page IconTo Next Page
To Previous Page IconTo Previous Page
To Previous Page IconTo Previous Page
Loading...
Page 19 — English
Release the throttle trigger as soon as the cut is
completed allowing the engine to idle. Running
the saw at full throttle without a cutting load can
result in unnecessary wear to the chain, bar, and
engine.
Do not put pressure on the saw at the end of
the cut.
FELLING TREES
HAZARDOUS CONDITIONS
See Figures 19 - 22.
WARNING:
Do not fell trees during periods of high wind or
heavy precipitation. Wait until the hazardous
weather has ended.
WARNING:
Closely check for broken or dead branches,
which could fall while cutting and do not cut
near buildings or electrical wires if you do not
know the direction of tree fall. Do not cut at
night or during bad weather conditions, such as
rain, snow, or strong winds, which can reduce
visibility and control of the chain saw. If the tree
you are felling makes contact with any utility
line, you should discontinue use of the chain
saw and immediately notify the utility company.
Failure to follow these instructions could result
in death or serious personal injury.
When felling a tree, it is important that you heed
the following warnings to prevent possible serious
injury.
Do not cut down trees having an extreme lean
or large trees with rotten limbs, loose bark,
or hollow trunks. Have these trees pushed or
dragged down with heavy equipment, then cut
them up.
Do not cut trees near electrical wires or
buildings.
Check the tree for damaged or dead branches
that could fall and hit you during felling.
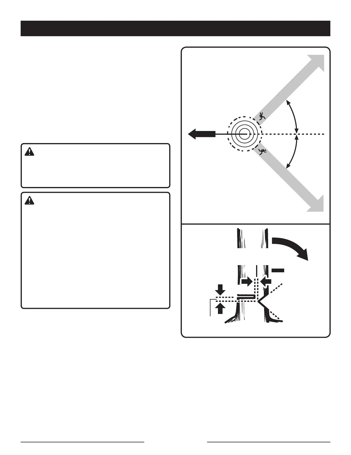
Fig. 19
HINGE
2 IN. (50 MM) OR 1/10 DIA
NOTCH -
APPROX. 1/3
DIAMETER OF
TRUNK
BACK CUT
2 IN. (50 MM)
Fig. 20
45°
45°
PLANNED LINE
OF FALL
RETREAT PATH
RETREAT PATH
OPERATION
Periodically glance at the top of the tree during
the backcut to assure the tree is going to fall in
the desired direction.
If the tree starts to fall in the wrong direction,
or if the saw gets caught or hung up during the
fall, leave the saw and save yourself!
Felling a tree – When bucking and felling oper-
ations are being performed by two or more
persons, at the same time, the felling operation
should be separated from the bucking operation
by a distance of at least twice the height of the

Table of Contents

Related product manuals