EasyManua.ls Logo

Sam AD Series - Base Plate and Coupling Alignment; Piping Installation Guidelines

Sam AD Series
36 pages
Print Icon
To Next Page IconTo Next Page
To Next Page IconTo Next Page
To Previous Page IconTo Previous Page
To Previous Page IconTo Previous Page
Loading...
9
Leveling the Base plate & aligning the Coupling:
Level accurately the base plate which carries the complete set with the aid
of a spirit level. Place metallic packing between the base plate and
foundation close to the foundation bolt holes. To prevent sagging of the
base plate, place metallic packing if required - also between the
foundation bolt holes. After leveling' the base plate fill up the foundation
bolt holes-with the bolts inserted .with a quick setting cement compound.
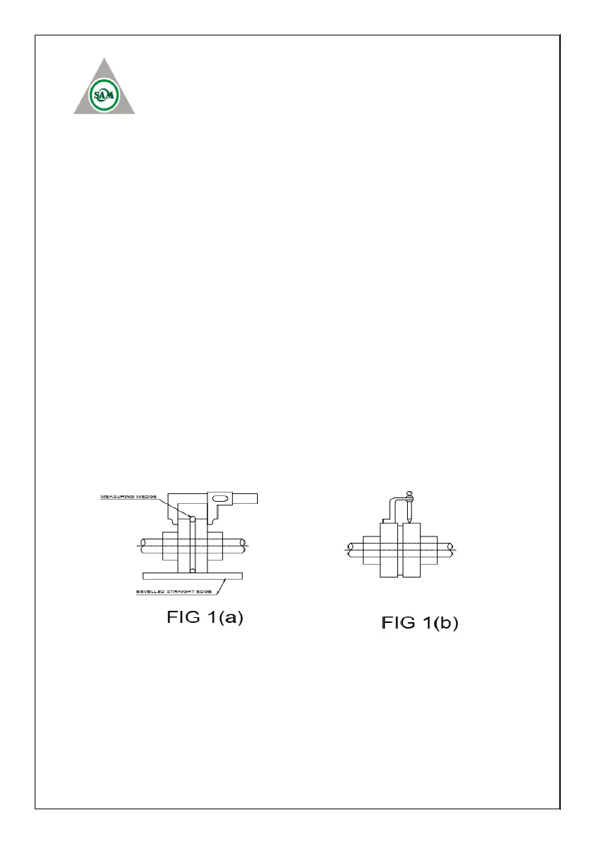
After leveling the pump set, measure the axial clearance between the two
coupling halves. Axial clearance between two corresponding points should
remain same when both couplings are turned through an angle. Maximum
permissible tolerance is 0.05mm. The permissible tolerance being 0.05mm
provided that the type of coupling is such as to allow this check figure 1
(a). Otherwise a coupling aligner must be used, permissible tolerance 0.05
mm figure 1 (b). At every check take care that the axial float of the rotor is
taken into account, i.e when measuring the rotor and the driver shaft must
always be brought to bear in the same direction
LAYING & CONNECTING PIPES:
The suction and discharge piping should be installed with the shortest and
most direct runs. Elbows should preferably be of the long radius type.
Pipes must line up naturally. The piping must never be pulled into position
by the flange bolts. Such action may draw the pump out of alignment.

Related product manuals