EasyManua.ls Logo

Samsung AQV18VBEX - Assy Control In Parts List

Samsung AQV18VBEX
100 pages
Print Icon
To Next Page IconTo Next Page
To Next Page IconTo Next Page
To Previous Page IconTo Previous Page
To Previous Page IconTo Previous Page
Loading...
Samsung Electronics
5-5
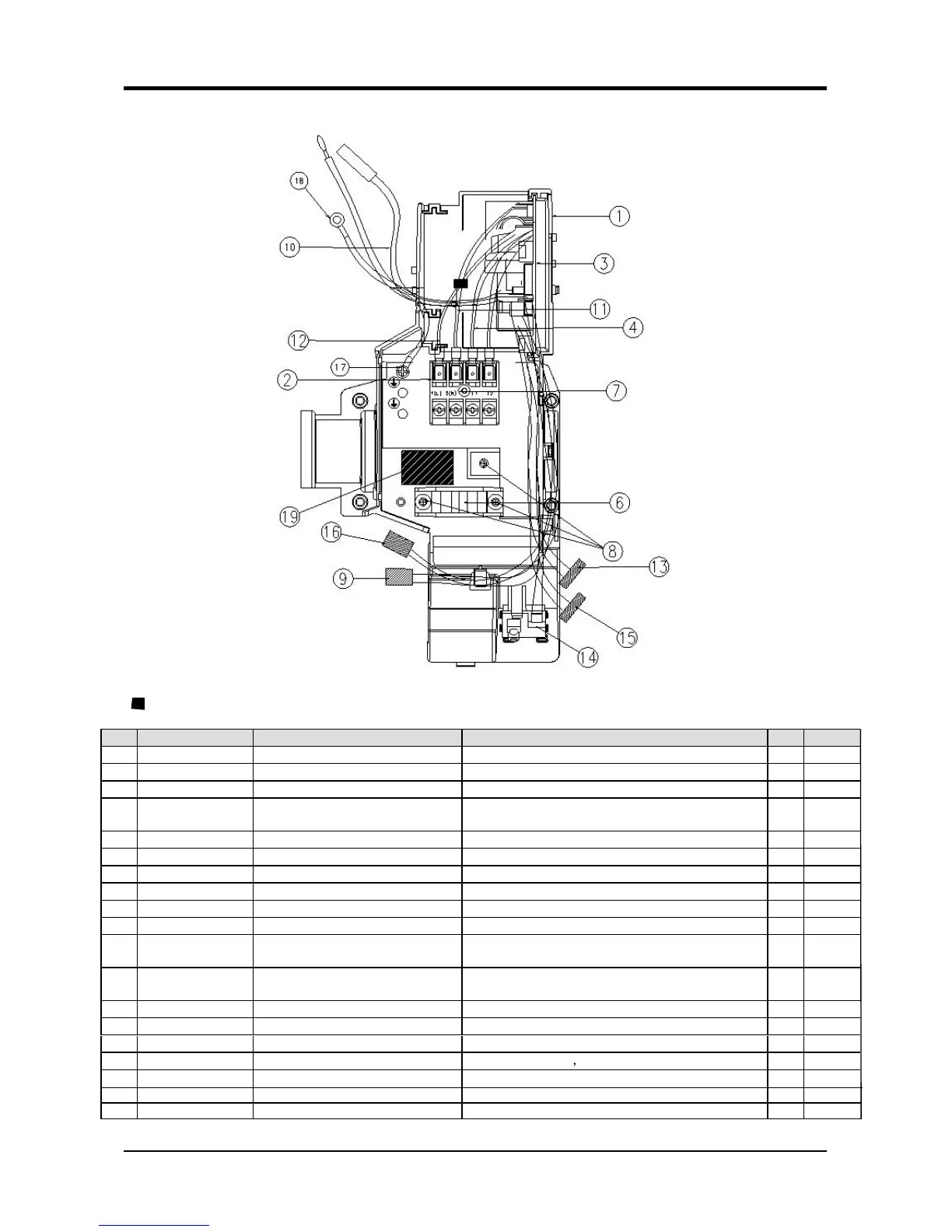
5-3 ASSY-CONTROL IN DB93-05869D
Y'T
SA/SNA
Q.cepSCSEDEDOCON
1VIVACE,GRAY 5VLORTNOCESACB21920-16BD1
1P4,-,-,-,-,-,0B040-CWMKCOLBLANIMRETU40000-56BD2
1K42/K81,)VNI(TJP-2ecaviVNIAMBCPYSSAH77850-39BD3
4 DB39-01210B CONNECT WIRE-485COMM SH24BP2,#1007 26 AWG,- , - , - , RED,#1007 26
AWG,ST730620-3,-,BK,230V/50Hz,2.5mm,150,
1
1-,-,-,-,0.1,M-CCGS,EW6W42TQANILORTNOC-ETALPA70500-07BD5
1JP-12V,KLB,-,-,-,SBA,-PMALCERIW-REDLOHA79010-16BD6
7 6001-000929 SCREW-MACHINE PH,+,-,M3,L22,ZPC(WHT),SWRCH18A,UP,- 1
8 6001-001054 SCREW-MACHINE M4x10,
1GWA827001LU,TJP-2ETROFERIWROTCENNOCYSSAA23840-39BD9
1CESS,-,-,-,-,001+~02-,-,-,TA301YSSAERIW-ROTSIMREHTE02000-23BD01
11 DB39-01193A CONN
ECT WIRE-3P AS24(18)BPB,#1015 18 AWG,-,3,162,SKYBLU,#16,-,-
,BK,230V/50Hz,3.96mm,150,UL1015AWG16,-,-
1
12 DB39-00765T CONNECT WIRE-L AS24(18)BPB,#1015 AWG14,-,-,150,BRN,#14,ST730574-
3,-,TP,230V/50Hz,2.5mm,120,UL1015 AWG # 14,-,-
1
1nI_K21,ABV21VQAYALPSID-ERIWROTCENNOCYSSAA22640-39BD31
1CESS,J/P-ECAVIVBUSBCPYSSAA03440-39BD41
1CESS,J/P-ECAVIVERIWROTCENNOCYSSAA48440-39BD51
16 DB93-04695A ASSY CONNECTOR WIRE MODERATO-P/J,MPI
1CESS
19
PartList
SA
SA
SA
SA
SNA
SNA
SNA
SNA
SNA
SNA
SNA
SNA
SNA
SNA
SNA
SNA
SNA
3
17 6009-001001 SCREW-SPECIALTH,+,-,M4,L8,ZPC(WHT),SWRCH18A,-,- 1
SNA
SNA
1
18
1
DB39-00148A
DB98-27584A
CONNECT WIRE
LABEL CAUTION
EARTH
---
Air Marketing Group LLC
141 Kinderkamack Rd, Park Ridge, NJ 07656 Tel: 201-782-1782 Fax: 201-782-1783 Web: www.amgair.com Email: info@amgair.com

Related product manuals