EasyManua.ls Logo

Samsung MX-T40 - Product Overview; Top Panel of the Sound Tower

Samsung MX-T40
34 pages
Print Icon
To Next Page IconTo Next Page
To Next Page IconTo Next Page
To Previous Page IconTo Previous Page
To Previous Page IconTo Previous Page
Loading...
ENG - 3
02 PRODUCT OVERVIEW
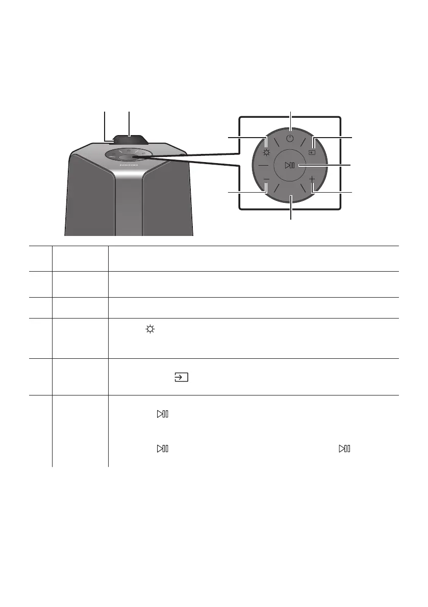
Top Panel of the Sound Tower
BASS
󱂛
󱂖
󱂙
󱂗
󱂘
󱂚
󱂕󱂔󱂓
󱂓
Remote
Sensor
When operating the Sound Tower system, please aim the front of the remote control at
the remote sensor.
󱂔
Display
Window
Displays operating messages or current status of the Sound Tower system.
󱂕
Power Turns the Sound Tower on and off.
󱂖
Light
Press the
(Light) button to turn the Lighting Mode on.
Press the button repeatedly to cycle through the available lighting modes:
AMBIENT, PARTY, DANCE, THUNDERBOLT, STAR or OFF.
󱂗
Source
Press to select a source connected to the Sound Tower.
Press and hold the (Source)
button for more than 5 seconds
to enter the
SEARCHING TV” mode.
󱂘
Play/Pause
Play/Pause
Press the button to pause a music le temporarily.
When you press the button again, the music le plays.
Next/Previous
Press the button 2 times to select the next music le, press the button
3 times to select the previous music le.

Other manuals for Samsung MX-T40

Related product manuals