EasyManua.ls Logo

Samsung SRF644CDLS - To Reattach the Flexzone Drawer

Samsung SRF644CDLS
80 pages
Print Icon
To Next Page IconTo Next Page
To Next Page IconTo Next Page
To Previous Page IconTo Previous Page
To Previous Page IconTo Previous Page
Loading...
English 33
Installation
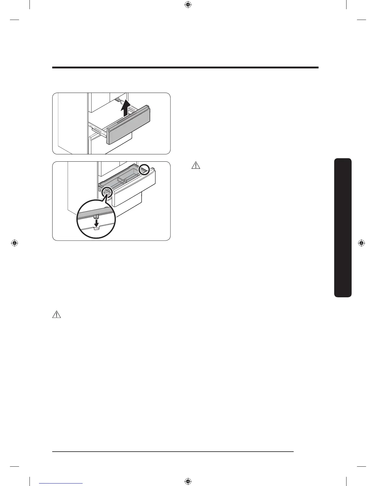
5. Lift up to remove the drawer front of
the FlexZone™ from the rail assembly.
CAUTION
Use caution when removing the rail
assembly, which may fall off causing
damage to the oor.
Make sure to put the FlexZone™ drawer
in place after removing or mounting
the FlexZone™ basket. The FlexZone™
drawer may not open or close if the
freezer drawer is not in place.
Do not store too much food in the
FlexZone™ drawer. This prevents
the FlexZone™ drawer from closing
properly, resulting in frost buildup.
To reattach the FlexZone™ drawer
After you have moved the refrigerator to its nal location, reattach the FlexZone™ drawer
by following the removal instructions in reverse order.
CAUTION
If the FlexZone™ or the indicator does not operate properly, make sure the connectors are
connected properly.
Untitled-7 33 2017-03-15  12:26:21

Table of Contents

Related product manuals