EasyManua.ls Logo

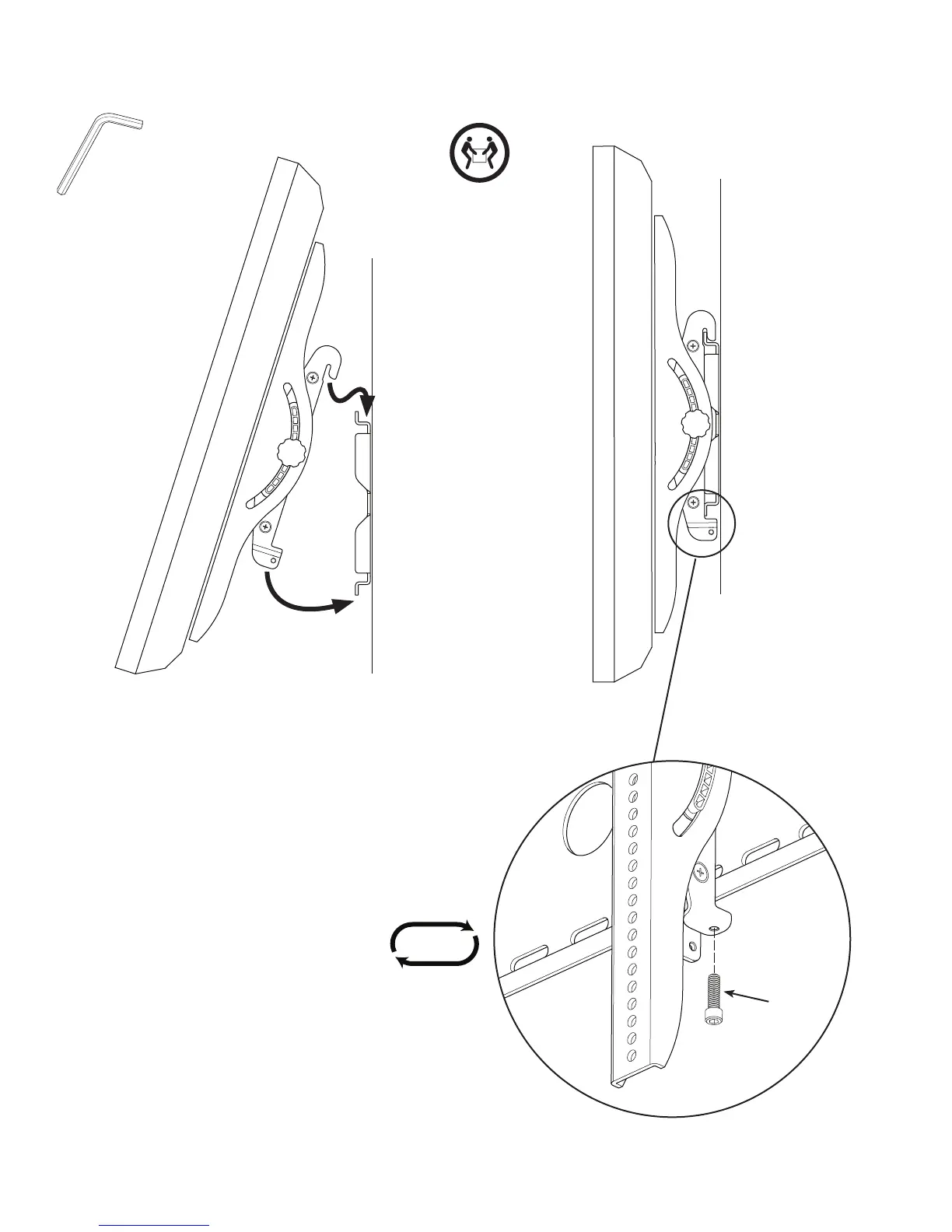
Sanus Systems VMPL50 - Step 3: Installing Safety Bolts

Sanus Systems VMPL50
18 pages
Print Icon
To Next Page IconTo Next Page
To Next Page IconTo Next Page
To Previous Page IconTo Previous Page
To Previous Page IconTo Previous Page
Loading...
6901-170134 <03>
3
002164.eps
VMPL50 / FPM50-Mount brackets to wall plate
002164.eps
VMPL50 / FPM50-Mount brackets to wall plate
[24]
2x
[23]

Other manuals for Sanus Systems VMPL50

Related product manuals