EasyManua.ls Logo

Sanus Systems WMS3 - Step 3: Install Covers and Arm; Attaching Speaker Covers and Arm; Set Screw Tightening Advisory

Sanus Systems WMS3
6 pages
Print Icon
To Next Page IconTo Next Page
To Next Page IconTo Next Page
To Previous Page IconTo Previous Page
To Previous Page IconTo Previous Page
Loading...
6901-100150 <01>
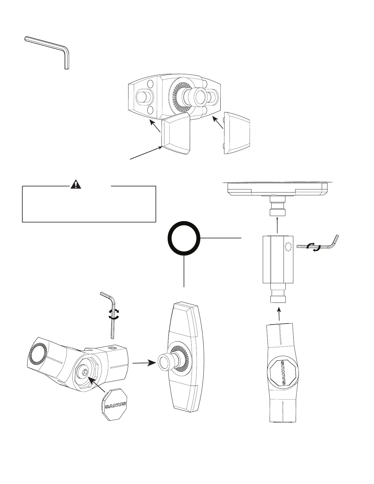
3: Install Covers and Arm
OPT
Do not overtighten. continuing to tighten the
Allen set screw once it is snug will not make
the connection stronger.
CAUTION
[05]

Other manuals for Sanus Systems WMS3

Related product manuals