EasyManua.ls Logo

Sanus Systems WMS5 - Ceiling Mount

Sanus Systems WMS5
11 pages
Print Icon
To Next Page IconTo Next Page
To Next Page IconTo Next Page
To Previous Page IconTo Previous Page
To Previous Page IconTo Previous Page
Loading...
6901-300156 <00>
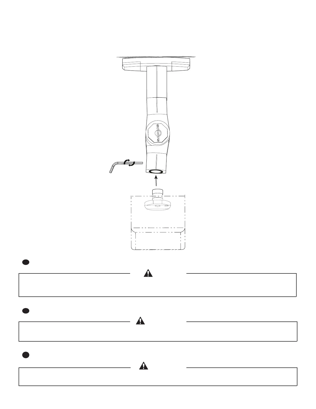
4.1: Ceiling Mount
Do not overtighten. Continuing to tighten the Allen set screw once it is snug will not make the connection stronger.
CAUTION
4.1: Montage au plafond
4.1: Soporte para techo
No ajuste demasiado. Continuar ajustando el tornillo Allen una vez que está bien asegurado NO hará que la conexión sea
más fuerte.
ADVERTENCIA
Ne pas trop serrer. Continuer à serrer les vis Allen une fois qu’elles sont bien en place ne rendra pas votre installation plus
solide.
ATTENTION
4.1
FR
ES
EN

Related product manuals