EasyManua.ls Logo

Sanus WSS21 - Page 6

Sanus WSS21
20 pages
Print Icon
To Next Page IconTo Next Page
To Next Page IconTo Next Page
To Previous Page IconTo Previous Page
To Previous Page IconTo Previous Page
Loading...
6
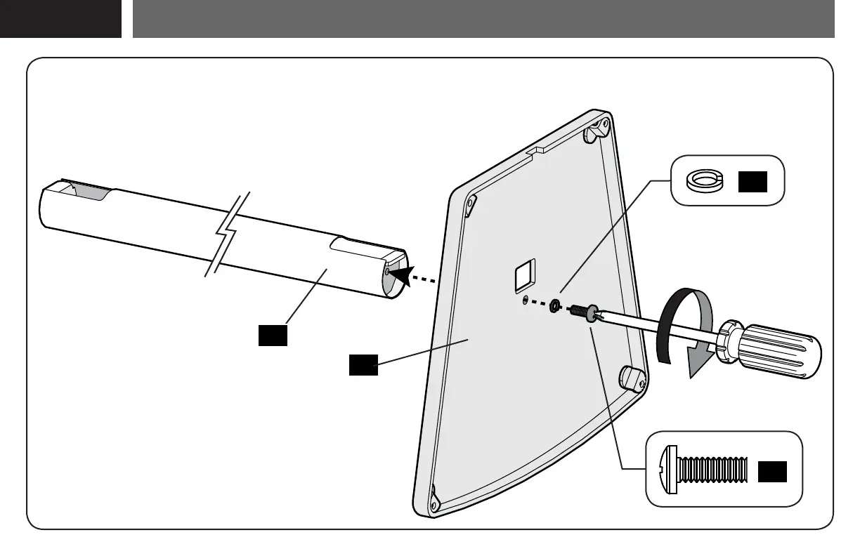
Attach Base to Tube
STEP 1
02
01
1/4-20 x 3/4 in
04
03

Related product manuals