EasyManua.ls Logo

Sanyo DWM-1000 - Page 29

Sanyo DWM-1000
63 pages
To Next Page IconTo Next Page
To Next Page IconTo Next Page
To Previous Page IconTo Previous Page
To Previous Page IconTo Previous Page
Loading...
- 61 -
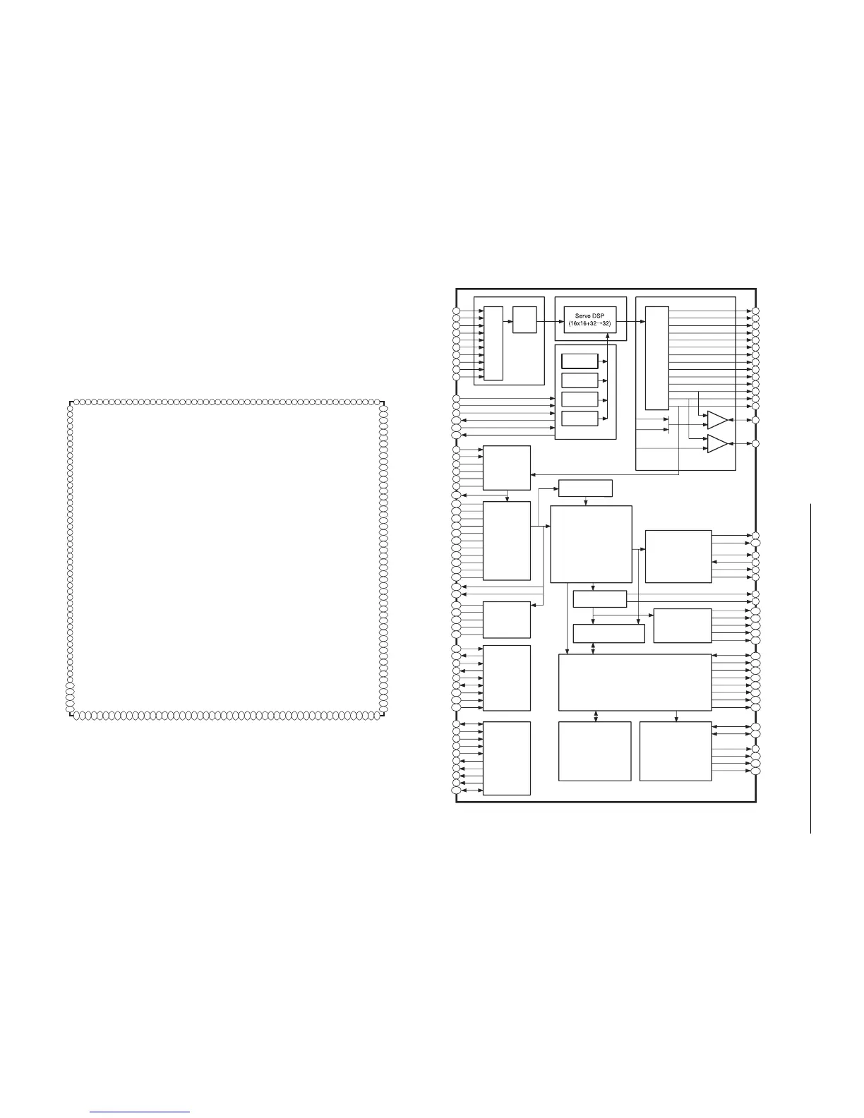
IC BLOCK DAIGRAM & DESCRIPTION
IC200 LC78661W-D (DVD/CD Servo)
14
13
11
12
10
9
8
7
6
5
39
38
36
37
35
33
34
29
30
31
32
28
27
26
42
43
1
204
206
205
21
22
19
20
134
146
147
142
143
144
145
140
141
139
106
107
93
92
96
95
100
102
101
159
191
88
89
49
44
15
130
192
193
194
131
129
128
127
84
85
86
87
126
195
196
197
68
81
58
59
60
54
51
50
55
110
114
112
111
115
125
149
148
154
155
156
153
152
136
135
FE
TE
RF-PH
RF-BH
AD0
AD1
AD2
AD3
AD4
AD5
FG
EVENT
RFPI
RFP[4:0]
DEFECTI
DEFECTO
EFMP
EFMN
SLCO1
SLCO2
SLCLPF0
SLCLPF1
EFMOUT
PISET
FISET
LF1
LF2
LF3
PCN
PPDO
FPDO
VCOUTL
DVDFR
CDFR
PCK
LEFM
JVAO
JVAIN
JVRVO
JVCPC
JVCPI
XIN
XOUT
X16MIN
X16MOUT
DVDCKIN
DVDCKOUT
VPDO
VCOC
VRFFR
HDAT[7:0]
HADR[12:0]
HRDB
HWRB
HCSB
HWAITB
HBUSYB
HFBUSYB
HIRQOB
PP[7:0]
FDO
TDO
SLDO
SPDO
SGC
TBAL
FBAL
OFFSET
BACTH
BOOT3T
RFVCA
HFLBIAS
TESBIAS
SLCBIAS
TESTO
HFLIO
WRQ
EMPH
PW
SBCK
SBSY
SFSY
FSX
EFLG
DOUT
LRSY
ROMCK
ROMXA
C2F
MD[15:0]
MA[12:0]
MRASOB
MRASIB
MCASOB
MCASIB
MOEB
MWEB
AVACKOI
AVREQIO
AVDENB
AVSCTB
AVERRB
AVD[7:0]
A/D Block D/A BlockServo Block
SLC Block
8 bits
A/D
8 bits
D/A
MPX
RF I/F Block
FC Counter
TR Counter
EV Counter
FG Counter
(RF-PH)
(AD4)
(AD5)
CMP
CMP
CLV/CAV Block
SUBCODE I/F Block
EFM PLL Block
CD Frame Sync
DVD Frame Sync
JV Block
CLK GEN Block
SYS PLL Block
CPU I/F Block
DVD Dec Block
AV Dec I/F Block
DRAM I/F Block
CD-ROM Dec Block
CIRC Dec Block
Audio OUT Block
EMF Block
Frame Synchronization
protect.
Frame Synchronization
interpolation
EMF demodulation
1
2
3
4
5
6
7
8
9
10
11
12
13
14
15
16
17
18
19
20
21
22
23
24
25
26
27
28
29
30
31
32
33
34
35
36
37
38
39
40
41
42
43
44
45
46
47
48
49
50
51
52
53
54
55
56
57
58
59
60
61
62
63
64
65
66
67
68
69
70
71
72
73
74
75
76
77
78
79
80
81
82
83
84
85
86
87
88
89
90
91
92
93
94
95
96
97
98
99
100
101
102
103
104
208
207
206
205
204
203
202
201
200
199
198
197
196
195
194
193
192
191
190
189
188
187
186
185
184
183
182
181
180
179
178
177
176
175
174
173
172
171
170
169
168
167
166
165
164
163
162
161
160
159
158
157
156
155
154
153
152
151
150
149
148
147
146
145
144
143
142
141
140
139
138
137
136
135
134
133
132
131
130
129
128
127
126
125
124
123
122
121
120
119
118
117
116
115
114
113
112
111
110
109
108
107
106
105
JVRVO
JVAIN
JVAO
JVCPC
JVCPI
AVS S
AVD D2
DVDFR
CDFR
FISET
PISET
PCN
LF3
LF2
LF1
FPDO
PPDO
VCOCTL
DVSS
DVDDO
PCK
LEFM
EFMOUT
DVSS
DVDD4
DOUT
EMPH
LRSY
ROMCK
ROMXA
C2F
AVD 7
AVD 6
AVD 5
AVD 4
AVD 3
AVD 2
AVD 1
AVD 0
DVDD4
DVSS
AVERRB
AVSCTB
AVDACK
AVACKOI
AVREQIO
PP7
PP6
DVDD5
XOUT
XIN
DVSS
RFPI
TESIO
DVDD2
DVSS
AD5
AD4
AD3
AD2
AD1
AD0
RF-PH
RF-BH
TE
FE
TEST0
EFMINP
TEST1
EFMINN
SLCLPFO
SLCLPFI
SLCO1
SLCO2
AVD D1
AVS S
VREF
SLCBIAS
TFSBIAS
HFLBIAS
OFSET
BCATH
BOOT3T
RFVCA
TRAL
FBAL
SGC
SLDO
SPDO
TDO
FDO
DVSS
DVDDO
FG
EVENT
HFLIO
PP0
PP1
PP2
PP3
WRQ
HFBUSYB
HBUSYB
DVDD3
DVSS
HWAITB
HIRQB
DVDRESB
RESB
HRDB
HWRB
HCSB
HDAT0
HDAT1
HDAT2
HDAT3
HDAT4
HDAT5
HDAT6
HDAT7
HADR0
HADR1
HADR2
HADR3
HADR4
HADR5
HADR6
HADR7
HADR8
HADR9
HADR10
HDAR11
HADR12
DVDD3
DVSS
PW/FSEQ
SBCK
SBSY
SFSY
FSX
EFLG
PP4
PP5
X16MOUT
X16MIN
TEST2
DVDCKOUT
DVDCKIN
TEST3
DVDDO
DVSS
VPDO
VRFFR
VCOC
AVS S
AVD D3
DVDD1
DVSS
DEFECTI
DEFECTO
RFP4
RFP3
RFP2
RFP1
RFP0
DVDDO
DVSS
MWEB
MOEB
MCASLB
MCASUB
MRAS1B
MRAS0B
MA12
MA11
MA10
MA9
MA8
DVSS
DVDDS
MA7
MA6
MA5
MA4
MA3
MA2
MA1
MA0
MD0
MD1
MD2
MD3
MD4
MD5
MD6
MD7
DVSS
DVDDS
MD8
MD9
MD10
MD11
MD12
MD13
MD14
MD15
AVS S
AVD D4

Related product manuals