EasyManua.ls Logo

Sanyo KHX0752 - Setting the Timer

Sanyo KHX0752
20 pages
To Next Page IconTo Next Page
To Next Page IconTo Next Page
To Previous Page IconTo Previous Page
To Previous Page IconTo Previous Page
Loading...
18
Setting the Timer
Using the timer Set the timer during air conditioner operation.
Time indicator of timer Each time is pressed, the time setting increases at 0.5-hour (30 minute) intervals. The
upper limit is 72.0 hours.
Each time is pressed, the time setting decreases at 0.5-hour (30 minute) intervals. The
lower limit is 0.5 hours.
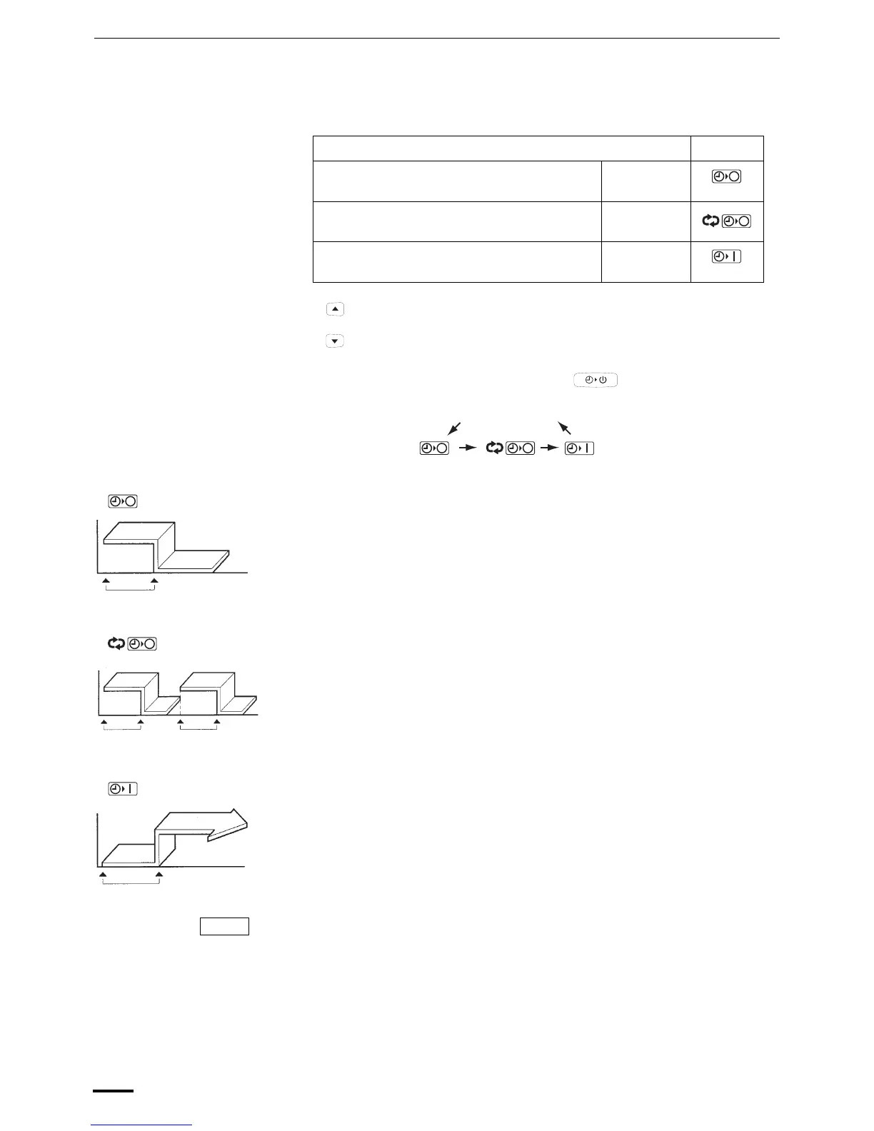
Timer indicator The timer cycles through the following options each time (TIMER SET button) is
pressed.
OFF timer Use this mode to turn off the unit automatically after a preset time elapses.
OFF cycle timer
Use this mode to always turn off the unit automatically after a preset time elapses.
ON timer Use this mode to start the unit automatically after a preset time elapses.
When two remote control units are being used, either a main-remote control unit or a sub-
remote control unit can be used for timer operations.
Recommended usage Display
To stop the air conditioner after a preset time
elapses
OFF timer
To always stop the air conditioner after a preset
time elapses
OFF cycle
timer
To start the air conditioner after a preset time
elapses
ON timer
No display
OFF
ON
Set time
OFF
ONON
OFF
Set time
Set time
OFF
ON
Set time
NOTE
OI-837-18-EG

Related product manuals