EasyManua.ls Logo

Sanyo SAP-KRV246EH - Page 9

Sanyo SAP-KRV246EH
28 pages
Print Icon
To Next Page IconTo Next Page
To Next Page IconTo Next Page
To Previous Page IconTo Previous Page
To Previous Page IconTo Previous Page
Loading...
9
English
(D)
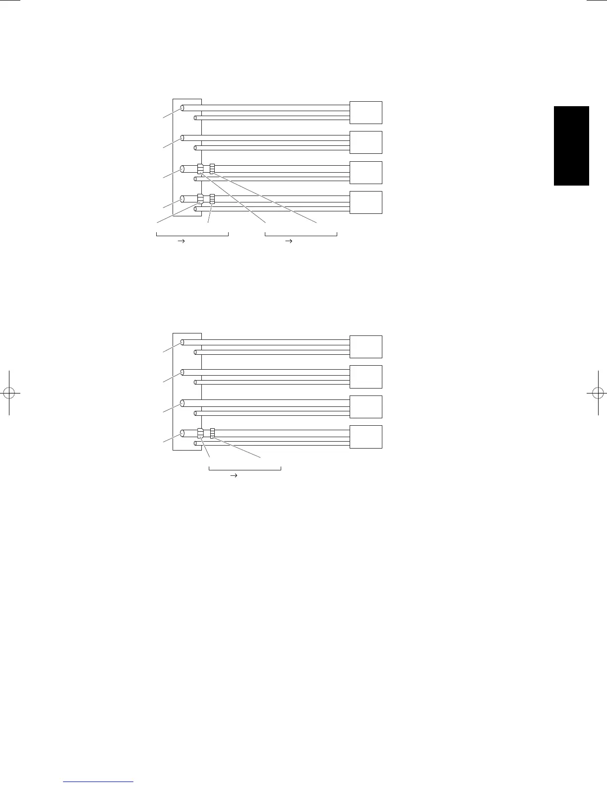
Fig. 4k
ø15.88Unionø12.70Flare
(ø12.70 ø15.88)
Locally purchased
ø9.52
ø9.52
ø6.35
ø9.52
ø6.35
ø15.88
ø6.35
C
ø12.70
B
ø12.70
A
(SAP-KMRV74EH, KMRV94EH, KMRV124EH)
(SAP-KMRV76EH, KMRV96EH, KMRV126EH)
(SAP-KRV96EHDS, KRV126EHDS)
(SAP-KMRV74EH, KMRV94EH, KMRV124EH)
(SAP-KMRV76EH, KMRV96EH, KMRV126EH)
(SAP-KRV96EHDS, KRV126EHDS)
ø9.52
ø9.52
ø6.35
D
Outdoor unit Indoor unit
(SAP-KMRV74EH, KMRV94EH, KMRV124EH)
(SAP-KMRV76EH, KMRV96EH, KMRV126EH)
(SAP-KRV96EHDS, KRV126EHDS)
(SAP-KRV244EH)
(SAP-KRV246EH)
ø9.52Unionø12.70Flare
(ø12.70 ø9.52)
Supplied Reducer
(E)
Fig. 4l
ø15.88Unionø12.70Flare
(ø12.70 ø15.88) Locally purchased
ø9.52
ø9.52
ø6.35
ø12.70
ø6.35
ø15.88
ø6.35
C
ø12.70
B
ø12.70
A
(SAP-KRV184EH)
(SAP-KRV186EH)
(SAP-KMRV74EH, KMRV94EH, KMRV124EH)
(SAP-KMRV76EH, KMRV96EH, KMRV126EH)
(SAP-KRV96EHDS, KRV126EHDS)
ø9.52
ø9.52
ø6.35
D
Outdoor unit Indoor unit
(SAP-KMRV74EH, KMRV94EH, KMRV124EH)
(SAP-KMRV76EH, KMRV96EH, KMRV126EH)
(SAP-KRV96EHDS, KRV126EHDS)
(SAP-KRV244EH)
(SAP-KRV246EH)
unit: mm
08-253 CMRV3146EH_OU EN 10/14/08 2:39 PM Page 9

Other manuals for Sanyo SAP-KRV246EH

Related product manuals