EasyManua.ls Logo

Sanyo SGP-E70J2GU2 - Page 106

Sanyo SGP-E70J2GU2
175 pages
Print Icon
To Next Page IconTo Next Page
To Next Page IconTo Next Page
To Previous Page IconTo Previous Page
To Previous Page IconTo Previous Page
Loading...
Construction
E - 19
Forbidden
Indoot Unit Indoot Unit Indoot Unit Indoot Unit Indoot Unit
Outdoor Unit Outdoor Unit Outdoor Unit
Forbidden
Same refrigerant systemSame refrigerant system
Remote
control
Separately
sold item
Remote
control
Separately
sold item
Remote
control
Separately
sold item
Remote
control
Separately
sold item
Remote
control
Separately
sold item
Grounding Grounding
Grounding
Grounding
Grounding
Grounding
Grounding
Earth leakage
breaker
Indoor/outdoor
operation cable
Remote control
wiring
Earth leakage
breaker
Earth leakage
breaker
Earth leakage
breaker
Indoor unit
1
Indoor unit
X
Indoor unit
2
Indoor unit
(UH)
Indoor unit
X
To other systems
Outdoor
unit 2
Outdoor
unit 1
Central control device A
Central control device B
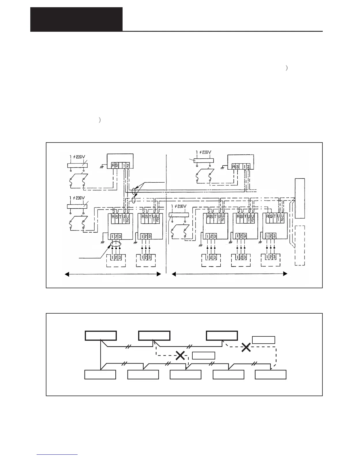
2)Controlling indoor units on several refrigeration systems
Note 1) The power supply cabling for the indoor units should be carried out for each separate
refrigeration system.
(If this cannot be done then use the bus system or the relay at a pull box.
Also, power cabling for outdoor units should be separate for each outdoor unit.
Note 2) The signal cable from the centralized control device should be connected to be the same
signal cable as the indoor/outdoor operation cable. (no polarity)
Note 3) The maximum number of units that can be connected to the same signal cable is 64
indoor units, and 30 outdoor units.
Note 4) If the indoor/outdoor operation cable is connected in a loop then communication is not
possible. Therefore, do not connect in a loop.
Note 5
On the common communication cable (indoor/outdoor operation cable) outdoor unit
board S7 (terminal resistance ON/OFF switch), all units save one should be set to the OFF
side (when shipped from the factory they are set to ON).
Cautions regarding the indoor/outdoor operation cable
Do not connect the cable in a loop.
3. Points regarding electrical construction (indoor unit)

Table of Contents

Related product manuals