EasyManua.ls Logo

SATA 03025 - Page 52

SATA 03025
Print Icon
To Next Page IconTo Next Page
To Next Page IconTo Next Page
To Previous Page IconTo Previous Page
To Previous Page IconTo Previous Page
Loading...
ESPT JARUEN DE KO ESPT JARUEN DE KO
03025/03026
- 03 -
50
󽚇󾋊󼌿󾋊󼛭󻐋 
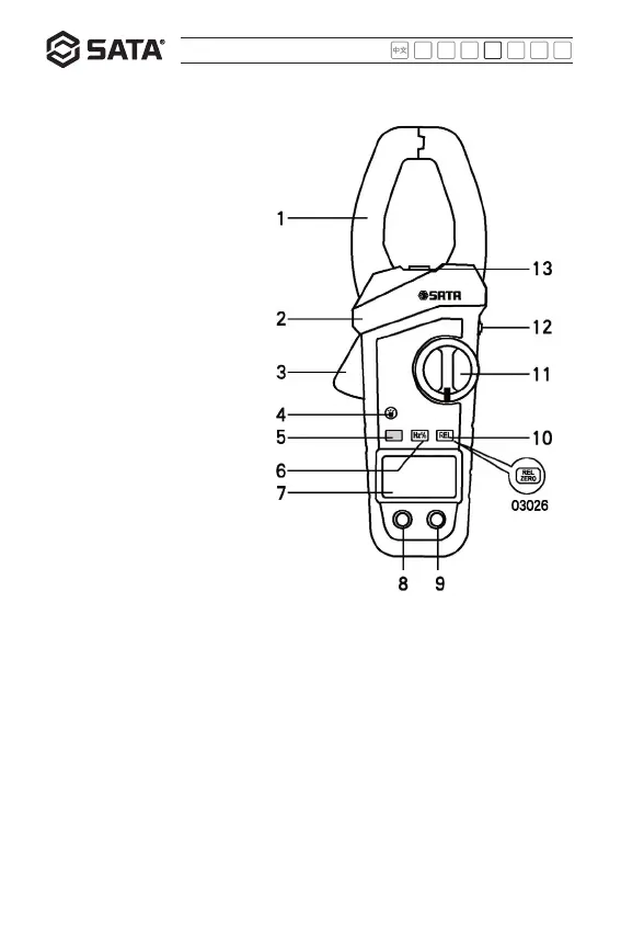
3.
󽐷󺽗󾋊󽙧󼽿󾋊󽜋󻘃󼡿󾋊󽁃󺽗󼝧
󻅫󺽗󻪣󾋊󼥃󼛛󽙿󻎻󾋊󻒗󾋊󼇓󼟐󻕐
󻏯󻐋 
4.
󽚟󻘃󽜓󻘃󾋊󼏋󼠫󼽿󾋊󻶫󽏣
5.
󺽗󻏌󾋊󼤯󽝿󾋊󻶫󽏣
03025
󾋴󼢛󾋊 󻶫󽏣󼡧󾋊󼤧󽚔  󽋜
󼤯󻐏 󻐋󼢛󼝋󻘃󼡿󾋊󺽗󻏌󾋊󼤯󽝿
󼛷󾋊󼇓󼟐󻕃󻐋 
03026
󾋴󼢛󾋊󻶫󽏣󼡧󾋊󺹷󼫨󻩿󾋊󼤫
󻩿 󺹷󼫨󻩿󾋊󼤫󼙼󼡿󾋊󺽗󻏌󾋊󼤯
󽝿󼛷󻓫󾋊󼇓󼟐󽚇󾋊󼌿󾋊󼢯󻐋
6. “Hz%”
󺽗󻏌󾋊󻶫󽏣
󼨣󽐳󼌿󼝧󾋊󼤷󺸜󻽫󾋊󼽈󼤼󾋊󻯏󻘃
󼇓󼢛󼡿󾋊󼤯󽝿󼛷󾋊󼇓󼟐󽚇󾋊󼌿󾋊󼢯
󻐋
7.
󼚈󼤼󾋊󻯏󻏯󽉗
8. “COM”
󼊳󽀺 󺶧󼡧󼇰󾋊󽖃󽙫󼡿
󼢬󻥌󾋊󼊳󽀺
9. “INPUT”
󼊳󽀺 󻾏󺴫󼇰󾋊󽖃󽙫
󼡿󾋊󼢬󻥌󾋊󼊳󽀺
10. 03025
󾋴
“REL
󻶫󽏣󼡧󾋊󼇨󻐧
󺴹󾋊󼽈󼤼󾋊󻯏󻘃󻦃󾋊󻘋󼛛󺴧󺸇󾋊󻆿
󺴧󻎻󾋊󻒗󻓫󾋊󼇓󼟐󽚇󾋊󼌿󾋊󼢯󻐋 
03026
󾋴
“REL/ZERO”
󻶫󽏣󼡧󾋊󼫨
󻩿󾋊󼤫󻩿󾋊󼽈󼤼󾋊󺽗󻏌󼛷󾋊󼢯󼡣󻮗 
󼢛󾋊󻶫󽏣󼡧󾋊󻷧󼦗󾋊󻶫󽏣󼡣󻦃󾋊󼇓󼟐󻕃󻐋 
11.
󺽗󻏌 󼛛󻐸󽉗󾋊󼏋󼠫󼽿
󼢛󾋊󼏋󼠫󼽿󻎻󾋊󽙫󼞻󽚃󾋊󺽗󻏌󺸣󾋊󺽗󼛛󾋊󼠫󼽿󻪣󾋊󼉇󽈄󽙿󺸇󾋊󺷫󼽈󺽗󼡿󾋊󼤫󼟷󼡫󾋊󽁃󺸇󾋊󻅫󻎻
󻒗󾋊󼇓󼟐󻕃󻐋 
12. “HOLD”
󻶫󽏣󼝧󾋊󻵘󻢣󼢛󽏟󾋊󻶫󽏣
󻶫󽏣󼡫󾋊󻌳󻤓󾋊󻒗󼢛󽉗󾋊󼡇󼫧󼛷󾋊󼇓󼟐󽚇󾋊󼌿󾋊󼢯󻐋 
󼢛󾋊󻶫󽏣󼡫󾋊󻌳󻤓󾋊󻊺󼫧󾋊󼙱󼡣󻮗󾋊󼚤
2
󼸯󾋊󻔀󼙯󾋊󻵘󻢣󼢛󽏟󾋊󺽗󻏌󼡫󾋊󽁃󺶗󻆿󾋊󻅳󾋊󼌿󾋊󼢯󻐋 
󻵘󻢣󼢛󽏟󺴧󾋊󼤷󻘘󻔿󻮛󾋊󼚤
15
󼸯󾋊󻔀󼙯󾋊󼢷󻔀󼡣󻦃󾋊󺿣󼫯󾋊󼌿󾋊󼢯󻐋 
13.
󽚟󻘃󽜓󻘃󾋊󺸸󼟷

Related product manuals