EasyManua.ls Logo

ScienTECH DB15 - Experiment; Study of BCD to 7 Segment Decoder Using IC 74 LS47

Default Icon
12 pages
Print Icon
To Next Page IconTo Next Page
To Next Page IconTo Next Page
To Previous Page IconTo Previous Page
To Previous Page IconTo Previous Page
Loading...
DB14
Scientech Technologies Pvt. Ltd. 7
Experiment
Objective :
Study of BCD to 7 Segment Decoder using IC 74LS47
Equipments Needed :
1. Digital board DB15.
2. DC Power Supply +5V from external source or ST2611 Digital Lab.
3. Digital Multimeter or Digital Lab ST2611.
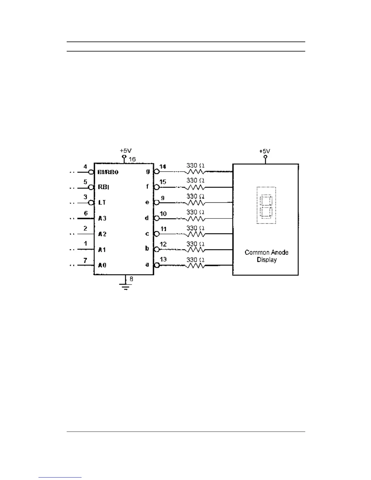
Logic Diagram & Truth Table :
(Logic 1 = +5V & Logic 0 = Gnd)
74LS47 Logic Diagram
Figure 4