EasyManua.ls Logo

Scotsman DCE33 - Page 31

Scotsman DCE33
44 pages
Print Icon
To Next Page IconTo Next Page
To Next Page IconTo Next Page
To Previous Page IconTo Previous Page
To Previous Page IconTo Previous Page
Loading...
DCE33 SERVICE PARTS
April 2013
Page 4
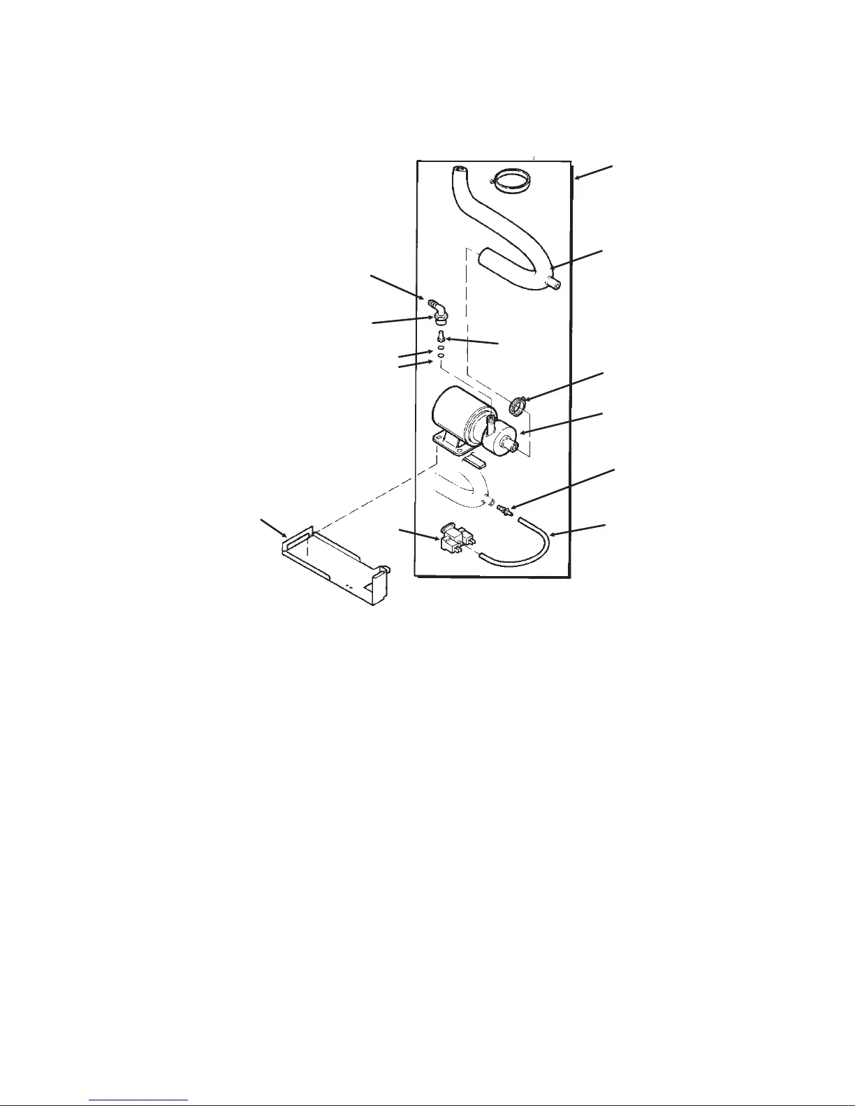
Drain Pump Components
3
1
2
7
6
10
4
5
9
13
12
11
Item Part
Number Number Description
1. A36892-020 Drain Pump Kit, for all except DCE33A-1BD and DCE33A-1SSD
A39885-001 Drain pump kit, for DCE33A-1BD or DCE33A-1SSD
use to convert any DCE33 gravity model to pump type. Pump must be ordered separately.
2 12-2503-21 Drain pump only,
use to replace drain pumps or w/kit to convert.
Pump Kit Service Parts
3 02-3369-01 Inlet hose
4 02-3522-01 Elbow
5 02-3374-01 Check valve
6 13-0617-08 O-ring
7 11-0504-01 Pressure switch
8 obsolete Impeller & housing kit
9 A37334-001 Discharge hose
10 05-0591-01 Switch hose
11 A36746-001 Mounting bracket
12 02-3406-01 Barbed connector
13 02-2814-11 Clamp
14 12-2580-01 Harness
12-3001-01 Harness, for converted-to-pump DCE33A-1BD, DCE33PA-1D, DCE33A-1SSD
or DCE33PA-1SSD
15 03-3904-01 Check valve spring
15

Other manuals for Scotsman DCE33

Related product manuals