EasyManua.ls Logo

Seiko 7N32C - Parts Catalogue Procedures; Disassembling Procedure; Reassembling Procedure; Lubrication Guidelines

Seiko 7N32C
8 pages
Print Icon
To Next Page IconTo Next Page
To Next Page IconTo Next Page
To Previous Page IconTo Previous Page
To Previous Page IconTo Previous Page
Loading...
2
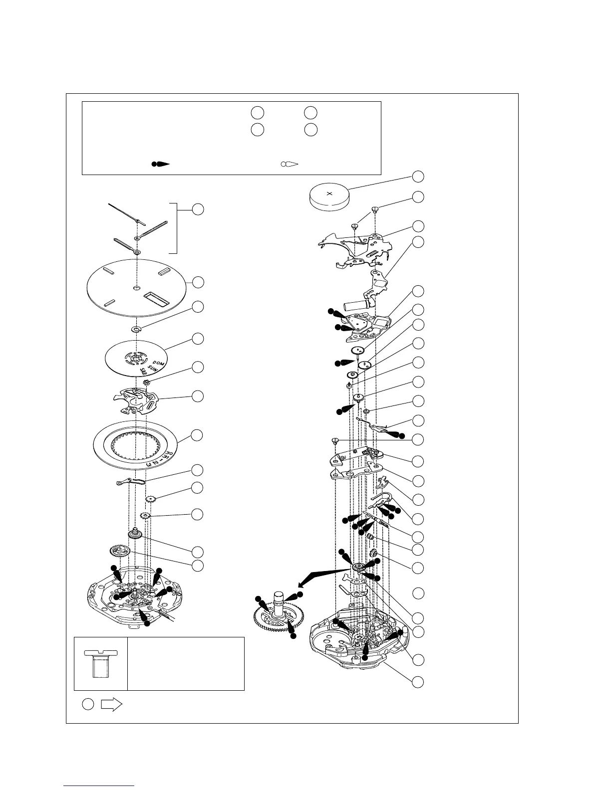
Cal. 7N32C, 7N33C, 7N39C
PARTS CATALOGUE
Please see the remarks on the following pages.
15 Battery connection (+)
18 Fourth wheel and pinion
0022 247
Battery connection (+)
screw (2 pcs.)
Coil block screw (1 pc.)
Disassembling procedure Figs. : 1 36
Reassembling procedure Figs. : 36 1
Lubricating: Types of oil Oil quantity
Moebius A Normal quantity
Ex. : Cal. 7N33C
1 Hour, minute and
second hands
(Cal. 7N32C, 7N33C)
Hour and minute hands
(Cal. 7N39C)
2 Dial
3 0963 230 (Cal. 7N33C)
Snap for day star
with dial disk
4 0150 515 (Cal. 7N33C)
Day star with dial disk
5 0989 890 (Cal. 7N33C)
Intermediate wheel
for day correction
13 Battery
(See the front page.)
14 0022 247
Battery connection (+)
screw
17 0125 923
Train wheel bridge
16 4000 634
(Cal. 7N32C, 7N33C)
4000 633 (Cal. 7N39C)
Circuit block
19 0231 904
Third wheel and pinion
20 0701 904
Fifth wheel and pinion
21 4146 886
Step rotor
22 0261 904
Minute wheel
23 0281 904
Setting wheel
24 0391 890
Train wheel setting lever
26 4002 923
Coil block
33 Center wheel and pinion
35 4270 904
Battery connection (-)
34 4216 904
Insulator for battery
connection C
32 0806 890
(Cal. 7N32C, 7N39C)
Date corrector wheel
32 0962 890 (Cal. 7N33C)
First intermediate wheel
for calendar correction
31 0282 890
Clutch wheel
29 0384 890
Yoke
28 0383 891
Setting lever
27 4239 892
Rotor stator
30 Winding stem
8 0810 890
Date jumper
9 0737 891 (Cal. 7N33C)
Date corrector setting
wheel
10 0962 891 (Cal. 7N33C)
Second intermediate
wheel for calendar
correction
7 0878 579 (Cal. 7N32C)
0878 643 (Cal. 7N33C)
0878 633 (Cal. 7N39C)
Date dial
25 0022 247
Coil block screw
36 Main plate
6 0808 890 (Cal. 7N33C)
0808 891
(Cal. 7N32C, 7N39C)
Date dial guard
11 Hour wheel
12 0802 890 (Cal. 7N33C)
0802 891
(Cal. 7N32C, 7N39C)
Date driving wheel

Related product manuals