EasyManua.ls Logo

Seko PH - Page 24

Default Icon
46 pages
Print Icon
To Next Page IconTo Next Page
To Next Page IconTo Next Page
To Previous Page IconTo Previous Page
To Previous Page IconTo Previous Page
Loading...
0000136965
Rev. 1.1
5
3.0___CONFIGURACIONES Y FUNCIONAMIENTO
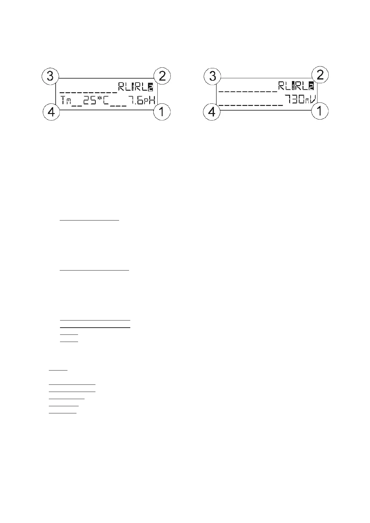
3.1__Visualización instrumento
Área 1
= Visualización medida química pH o Redox
Área 2
= Visualización estado Relé 1 y 2, si el número del relé parpadea, el contacto ha cambiado de estado
Área 3
= Visualización de las alarmas
Área 4
= Visualización temperatura manual o automática para la medida del pH; en la versión Redox área vacía
3.2__Teclado instrumento
Sal/Modalidad
= Tecla de doble función
Sal
= Salida inmediata del menú
Modalidad
= menú
regulaciones rápidas
Intro/ Cal
= Tecla de doble función
Intro
= Confirma función
Cal
= Acceso inmediato calibración
Arriba
= Tecla incremento
Abajo
= Tecla disminución
Función calibración sonda
(Pulsar la tecla
Cal
durante 3 segundos [pulsar Sal para sal
ir])
Calibración sonda pH
o
Sumergir la sonda en la solución 7 pH y pulsar Intro
o
Esperar 60 segundos para la autocalibración; al terminar se visualiza la precisión de la sonda
en grados porcentuales.
o
Sumergir la sonda en la solución 4 pH o 9.22 pH y pulsar I
ntro
o
Esperar 60 segundos para la autocalibración; al terminar se visualiza la precisión de la sonda
en grados porcentuales.
Calibración sonda Redox
o
Sumergir la sonda en la solución 465 mV y pulsar Intro
o
Esperar 60 segundos para la autocalibración; al termi
nar se visualiza la precisión de la sonda
en grados porcentuales.
Función Modalidad (menú rápido)
(Pulsar la tecla
Modalidad
durante 1 segundo, seleccionar con la tecla Arriba
y Abajo)
PuntoDeAjuste 1 7.4pH
(Pulsar la tecla Intro y regular el valor con
la tecla Arriba y Abajo)
PuntoDeAjuste 2 7.4pH
(Pulsar la tecla Intro y regular el valor con la tecla Arriba y Abajo)
Relé 1
(Pulsar la tecla Intro para cambiar el estado del relé)
Relé 2
(Pulsar la tecla Intro para cambiar el estado del relé)
Nota:
de
spués de 10 segundos el instrumento sale de manera automática
Función menú Configuración de valores
(Pulsar las teclas
Intro
y
Sal
durante 5 segundos)
Idioma
(Programar el idioma en el que se visualizarán los menús)
o
Los idiomas disponibles son: inglés (UK
), francés (FR), español (ES), alemán (DE) e italiano (IT)
PuntoDeAjuste 1
(Programar las funciones de dosificación o control mediante relé 1)
PuntoDeAjuste 2
(Programar las funciones de dosificación o control mediante relé 2)
Temperatura
(Menú disponible
solo para medida del pH)
Output mA
(Programar salida en corriente)
Avanzado
(menú de gestión técnica)
Función de restablecimiento parámetros de fábrica
Apagar el instrumento
Pulsar las teclas
Arriba
y
Abajo
juntas y poner en marcha el instrumento
El instr
umento muestra el mensaje
init._Default
,
seleccionar
Yes
con las teclas Arriba o Abajo y pulsar
Intro
El instrumento vuelve a cargar todos los parámetros de fábrica
Nota:
Para salir de los menús, pulsar
Sal

Related product manuals