EasyManua.ls Logo

Senix PDIX2-M2 - Page 56

Default Icon
60 pages
Print Icon
To Next Page IconTo Next Page
To Next Page IconTo Next Page
To Previous Page IconTo Previous Page
To Previous Page IconTo Previous Page
Loading...
FR - 56 WWW.SENIXTOOLS.COM
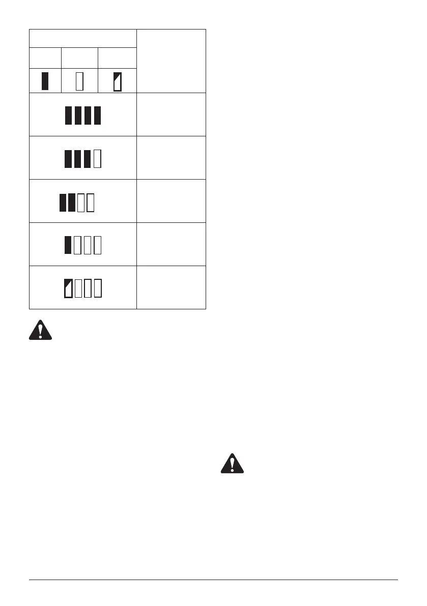
Indicateurs
Statut
Éclairé Désactivé Clignotant
La batterie est à
pleine capacité.
La batterie est à 75%
de sa capacité.
La batterie a une
capacité de 50% et
doit être rechargée.
La batterie a une
capacité de 25% et
doit être rechargée
rapidement.
La batterie a une ca-
pacité inférieure à 5%
et doit être rechargée
rapidement.
AVERTISSEMENT :
Des dysfonctionnements peuvent survenir
lorsque les quatre indicateurs clignotent à tour
de rôle.
PROTECTION CONTRE LA SUR-
CHAUFFE
Lorsque l'outil / la batterie est surchauffé, l'outil s'arrête
automatiquement. Dans ce cas, laissez refroidir l'outil élec-
trique / la batterie avant de rallumer l'outil.
PROTECTION CONTRE LA SUR-
DÉCHARGE
Lorsque la capacité de la batterie n'est pas sufsante, l'outil
s'arrête automatiquement. Dans ce cas, retirez la batterie
de l'outil et chargez-la.
INSTALLATION DE LA PIÈCE ET
DE LA ZONE DE TRAVAIL
1. Choisissez une zone de travail propre et bien éclairée.
La zone de travail ne doit pas être accessible aux
enfants ou aux animaux domestiques an d'éviter toute
distraction et toute blessure.
2. Fixez les pièces lâches à l'aide d'un étau ou de pinces
(non inclus) pour empêcher tout mouvement pendant
le travail.
3. Il ne doit pas y avoir d'objets, comme des câbles de
services publics, à proximité qui présentent un danger
pendant le travail.
CONSEILS PRATIQUES
1. Assurez-vous que l'outil d'application correct est monté
et que toutes les commandes sont réglées en position
de correction.
2. Tenez toujours le produit perpendiculairement à la
pièce. Si vous le tenez penché, vous risquez de glisser,
de vous coincer ou d'endommager l'outil d'application,
la vis/le boulon et la pièce.
3. Placez toujours l'outil d'application en position avant de
mettre le produit en marche.
4. Commencez à faible vitesse jusqu'à ce que la vis
pénètre perpendiculairement dans la pièce ou que le
boulon s'adapte correctement le long du letage.
5. Avant de visser des vis plus grandes et plus longues
dans des matériaux durs, il est conseillé de pré-percer
un trou pilote avec le diamètre du noyau du letage sur
toute la longueur de la vis.
6. Appliquez une force d'alimentation appropriée pour
maintenir la connexion de l’embout / douille et de la vis /
boulon / écrou. Une force d'alimentation trop importante
n'augmentera pas l'efcacité du travail, mais augmente-
ra le risque de perte de contrôle et d'échauffement de la
vis ou du boulon.
7. Si la vis / le boulon reste coincé dans la pièce, éteignez
l'outil électrique, passez en mode de rotation inverse
et appuyez légèrement sur la gâchette de l'interrupteur
pour desserrer la vis / le boulon.
8. Vériez régulièrement l'outil d'application pendant le
travail. Remettez-le en place ou remplacez-le si néces-
saire.
AVERTISSEMENT :
N'utilisez pas l'outil électrique comme un
tournevis ou une clé à main, cela pourrait
endommager le verrouillage de la broche dans
l'outil électrique.