EasyManua.ls Logo

SEVERIN KGK 8913 - Interior Lighting; Freezer Door

SEVERIN KGK 8913
Print Icon
To Next Page IconTo Next Page
To Next Page IconTo Next Page
To Previous Page IconTo Previous Page
To Previous Page IconTo Previous Page
Loading...
- 22 -
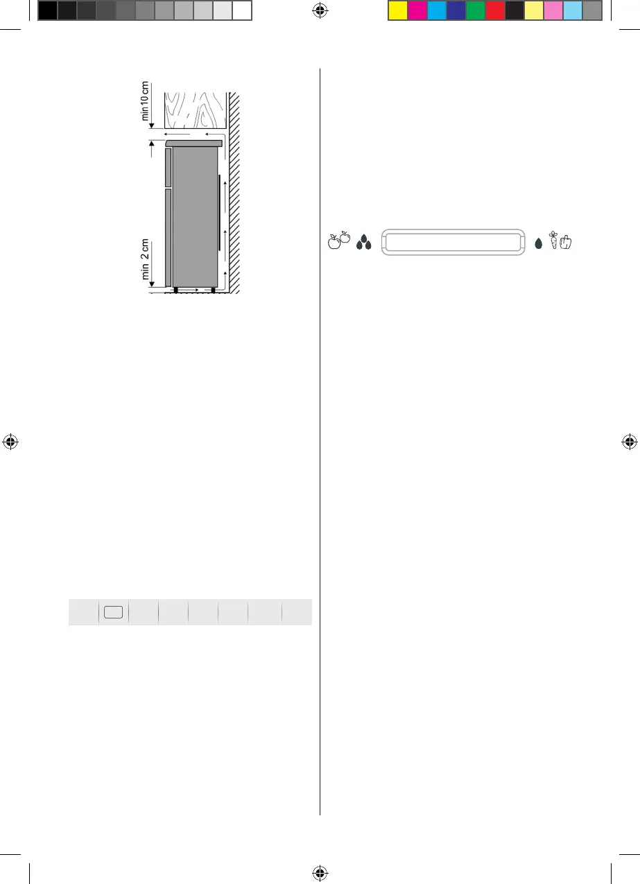
Ventilation
The air warmed behind the appliance needs to
circulate freely. For this reason, the circulation of air
cannot be compromised.
Caution! Do not cover possible existing ventilation
openings in the back area of the top cover plate!
Connection
• Before you connect the appliance, you have to
make sure that itself and the power plug do not
show any transport damages.
• Connect the appliance only to a shockproof out-
let. The mains voltage has to correspond to the
onestatedonthetoolidenticationplate.
• The appliance complies with the guidelines that
are obligatory for CE marking.
• Do not connect the appliance to an inverter
• The power plug should not touch the backside,
in order to avoid possible vibration noise.
• The appliance can be put into operation by plug-
ging the mains plug into the point.
• A complete switching-off only occurs by pulling
the mains plug.
Regulate the Temperature in the Cooling Room
2468SET
FAST
COOL
Press the „SET“ button on the control panel re-
peatedly until the desired temperature or the ‚Fast
Cooling‘ indicator lights up.
Fast Cooling
Select this function to quickly cool down the tem-
perature in the refrigerator. After approx. 3 hours,
this function will automatically go off and the
temperature in the refrigerator will go back to the
one previously set.
ZeroBox
The ZeroBox serves as the optimal storage for meat
andsh.
VeggiBox
The VeggiBox serves as the optimal storage for
fruits and vegetables.
Regulate the Humidity in the VeggiBox
Fruits and vegetables easily decay when stored
wrongly. For that matter, a critical criterion is a right
humidity, which you regulate precisely for the Veggi-
Box with the Humidity-Control:
This slide control is in the cover of the VeggiBox. Is
the slide control open, then the humidity sinks; is it
closed, then the humidity rises. This allows for ideal
storage conditions for fruits and vegetables.
Air Circulation
You can regulate the air circulation especially in
the ZeroBox with the control on the backside of
the cooling compartment. In the min-position, the
function provides for low air circulation and higher
humidity. The max-position offers high air circula-
tion with lower humidity.
Temperature in the Freezer
The temperature in the freezer compartment is set
to≤ū18 °C by default.
Special Functional Features
Memory Preservation in the Case of Power
Failure
Everycongurationwillbepreservedinthecaseof
a separation from the mains supply and will come
into operation again when the mains supply is
re-established.
Delayed Restart after Mains Failure
So as to protect the appliance from damages, it
cannot be turned on again immediately for a period
of 5 minutes after a short separation from the
mains supply. Wait a few minutes until the appli-
ance starts working again.
Interior Lighting
Do not take off the cover of the interior lighting. The
appliance is equipped with high quality, durable
LED-lighting. If the light is inoperative, call our
after-sales service.
Freezer Door
The freezer door should always stay closed so that
the food does not defrost. Thereby, the formation of
ice and frost accretion is reduced. Therefore, make
sure that the door is only open for withdrawal of
foodorratherforllingthefreezer.
8913_14_15_multi_(originates_from_8941_42_45_46).indd 22 24.09.2018 11:27:48

Related product manuals