EasyManua.ls Logo

SGB VLR 410/E - Page 25

Default Icon
45 pages
Print Icon
To Next Page IconTo Next Page
To Next Page IconTo Next Page
To Previous Page IconTo Previous Page
To Previous Page IconTo Previous Page
Loading...
18-12-2002
Q - 03
88
88
27
27
27
88
68
68
68
27
27
27
95
43
43
43
02
02
02
02
02
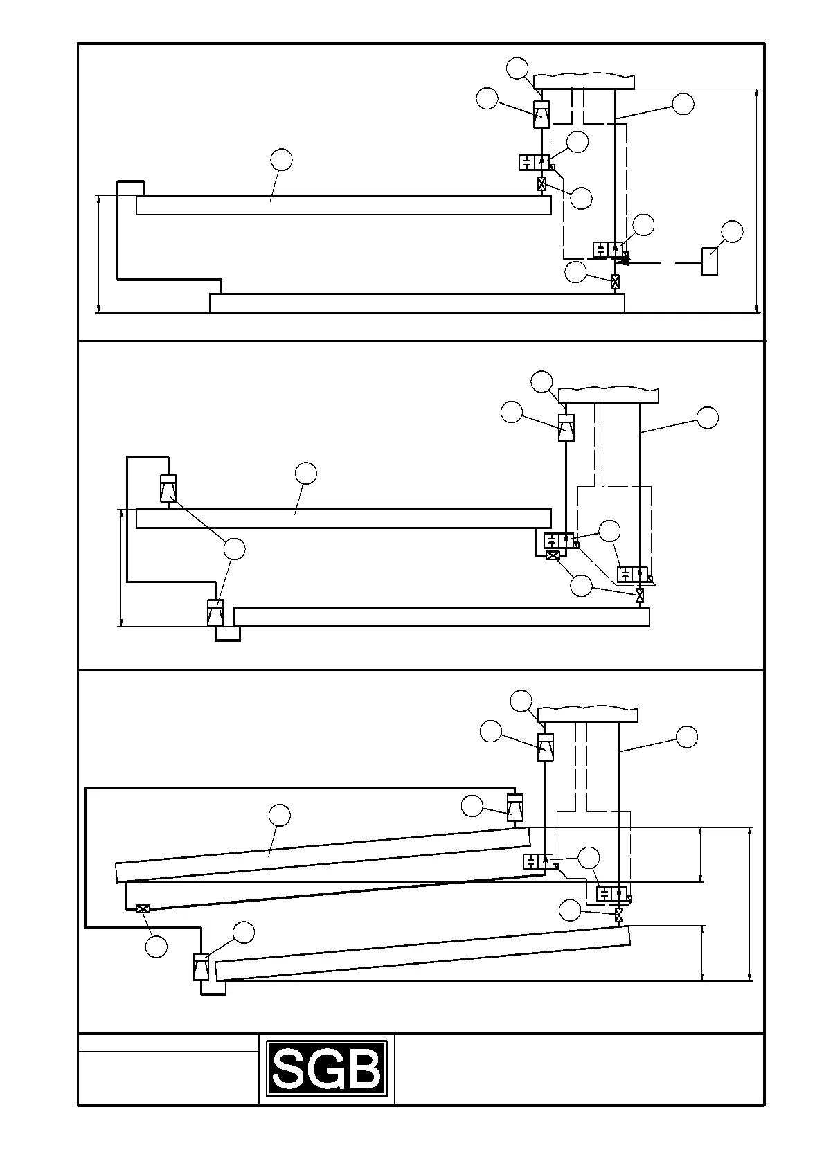
< 3,5 m
0<...<H
max
0<...<H
max
0 < ... < H
max
?
0 < .... < H
max
0 < .... < H
max
V
V
V
V
ÜR 1
Ü
R
1
Ü
R
2
ÜR 2
p < 25 bar
p < 25 bar
p < 25 bar
p < 25 bar
p
<
2
5
b
a
r
p
<
2
5
b
a
r
44
44
44
44

Related product manuals