EasyManua.ls Logo

Sharp CD-C492 - Names of Parts

Sharp CD-C492
88 pages
Print Icon
To Next Page IconTo Next Page
To Next Page IconTo Next Page
To Previous Page IconTo Previous Page
To Previous Page IconTo Previous Page
Loading...
CD-C492/492C
– 4 –
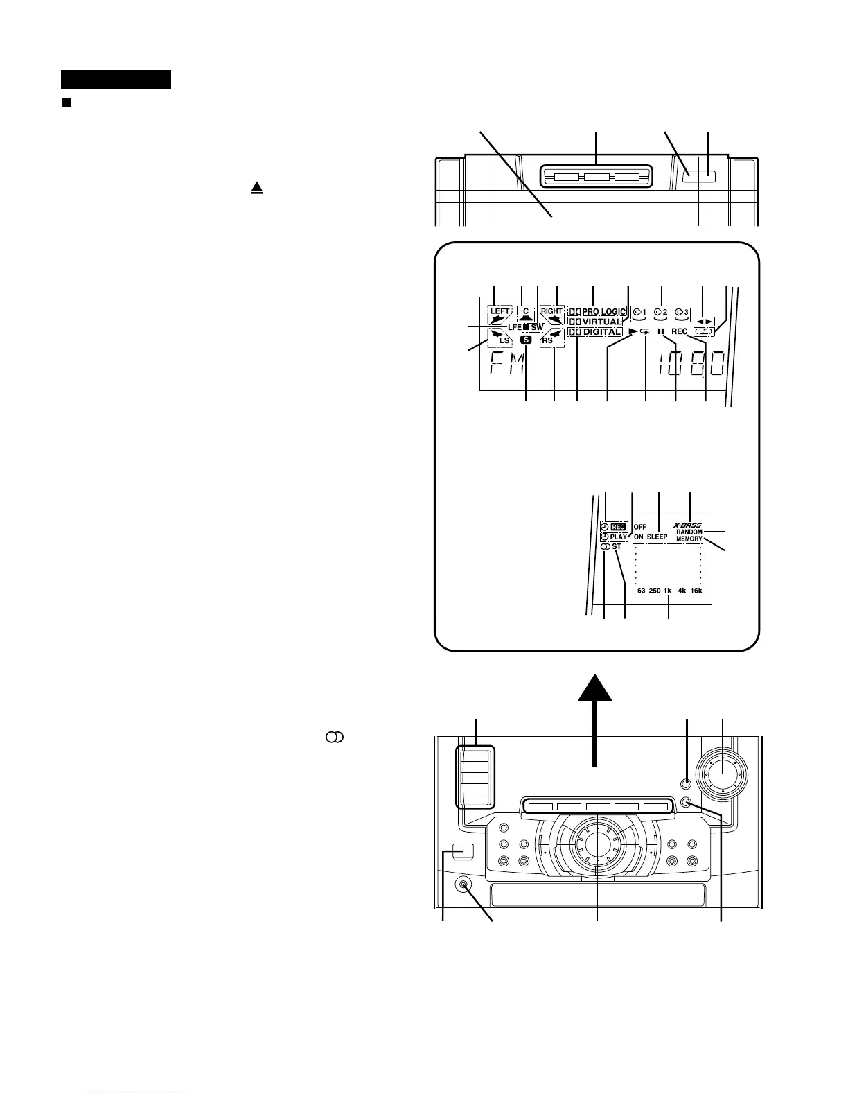
Front panel
1. Disc Tray
2. Disc Number Selector Buttons
3. Disc Skip Button
4. Open/Close Button:
5. LFE Indicator
6. Left Surround Speaker Indicator
7. Left Front Speaker Indicator
8. Centre Speaker Indicator
9. Sub Woofer Indicator
10. Right Front Speaker Indicator
11. Dolby Pro Logic Indicator
12. Dolby Virtual Indicator
13. (CD) Disc Number Indicator
14. (TAPE) Direction Indicator
15. (TAPE) Reverse Mode Indicator
16. Surround Signal Indicator
17. Right Surround Speaker Indicator
18. Dolby Digital Indicator
19. (CD) Play Indicator
20. (CD) Repeat Play Indicator
21. (CD) Pause Indicator
22. (TAPE) Record Indicator
23. Timer Record Indicator
24. Timer Play Indicator
25. Sleep Indicator
26. Extra Bass Indicator: X-BASS
27. (CD) Random Play Indicator
28. (CD/TUNER) Memory Indicator
29. (TUNER) FM Stereo Indicator:
30. (TUNER) FM Stereo Mode Indicator: ST
31. Spectrum Analyzer Indicator
32. Function Selector Buttons
33. Extra Bass Button
34. Volume Control
35. Power Button
36. Headphone Socket
37. Surround Mode Selector Buttons
38. Equalizer Selector/Demo Mode Button
NAMES OF PARTS
CD-C492/492C
1
234
5
6
7
8
9
10
11
12 13 14
15
16 1718 19
20
21
22
23 2425 26
27
28
29
30
31
32 33 34
35
36
37
38

Related product manuals