EasyManua.ls Logo

Sharp CD-JX20X(GY) - Page 41

Sharp CD-JX20X(GY)
52 pages
Print Icon
To Next Page IconTo Next Page
To Next Page IconTo Next Page
To Previous Page IconTo Previous Page
To Previous Page IconTo Previous Page
Loading...
.
M702
PWB
-F]
1
2 3 4 5
6
I
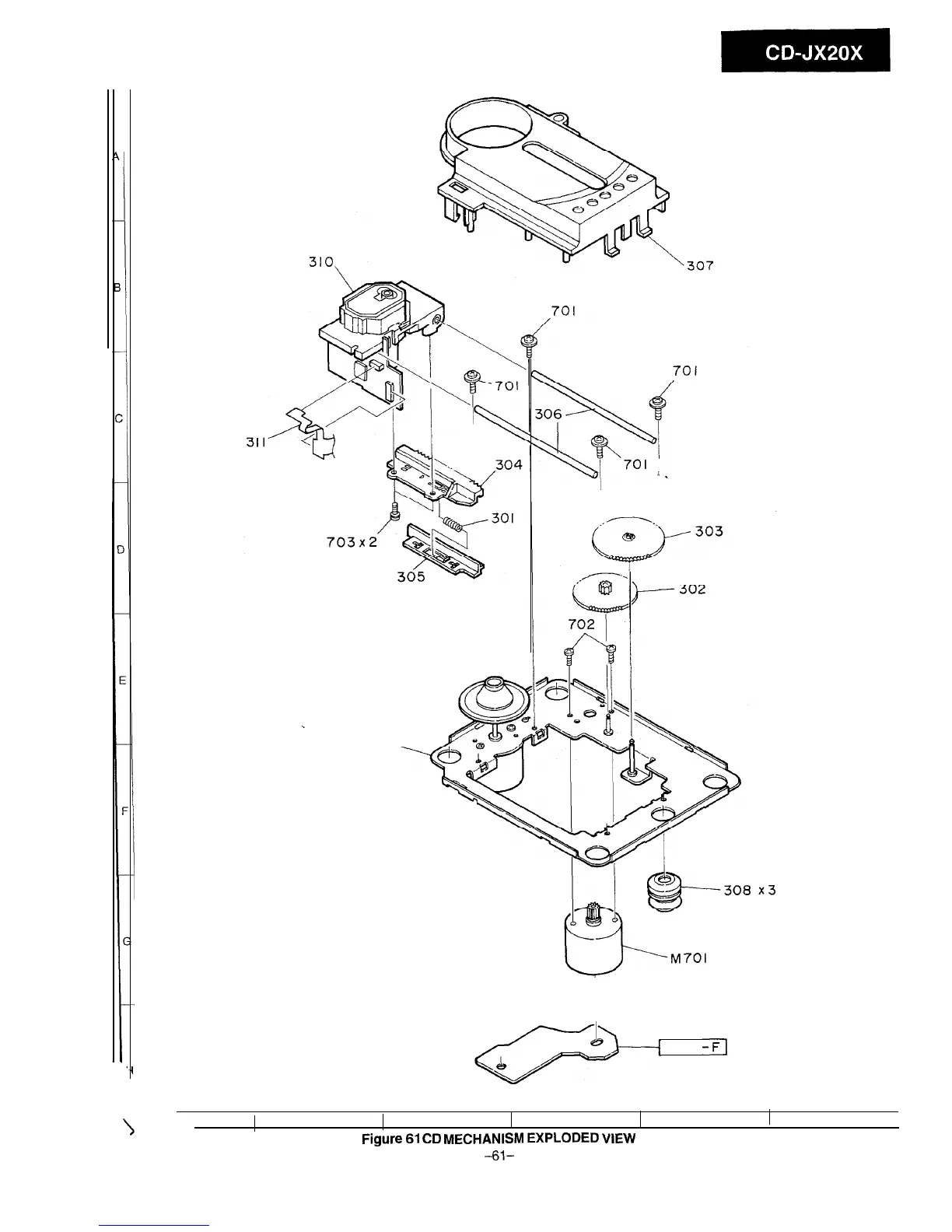
Figure
61
CD
MECHANISM
EXPLODED
VIEW
-61-

Related product manuals