EasyManua.ls Logo

Sharp ER-A450 - Page 21

Sharp ER-A450
95 pages
Print Icon
To Next Page IconTo Next Page
To Next Page IconTo Next Page
To Previous Page IconTo Previous Page
To Previous Page IconTo Previous Page
Loading...
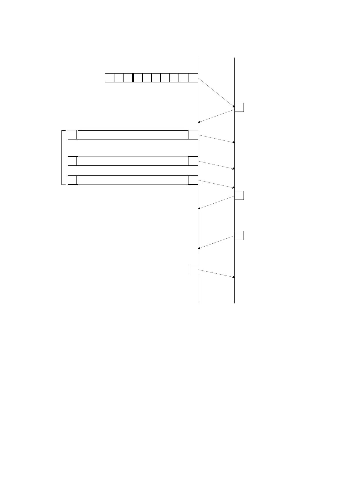
2) Data transmission from satellite to the host
ACK
EOT
( 1 ) Inquines of the satellite.
( 4 ) Receives ACK.
( 5 ) Sends the text.block.
( 7 ) Resends the text block if NAK is received.
Resends the text block up to two times.
Sends EOT and terminates the operation
with error if NAK is still received after the
second resending of text block.
( 9 ) Sends the next text if ACK is received and
sends EOT and terminates the operation if
data transfer is finaiized.
( 2 ) Receives ENQ.
Check the terminal No.
to see if it is its own.
( 3 ) Sends ACK.
( 6 ) Receives text.
Checks the check sum,text
data,etc. And goes to (8)
if there is no error in them.
( 8 ) Sends ACK.
( 10 ) Terminates the operation if EOT
is received.
ENQ
Host Satellite
Dummy
(3bytes)
Terminal No.
(6bytes)
Start code Text (parameter) End code
Text (FDS)
Text (DATA)
Three types of
text block formats
are available
NCK
ACK
( 8 )' Sends NAK if any error
occurs.
– 5 –