EasyManua.ls Logo

Sharp HT-SB140 - Page 109

Sharp HT-SB140
120 pages
Print Icon
To Next Page IconTo Next Page
To Next Page IconTo Next Page
To Previous Page IconTo Previous Page
To Previous Page IconTo Previous Page
Loading...
RU
Пульт дистанционного
управления
1. –   
   .
2. –   Bluetooth.
    
   
Bluetooth   -
  Bluetooth.
3.
  .
4. Громкость +/-– /
 .
5. / –   /-
    Bluetooth.
6. – //-
   
Bluetooth.
7. – ( ) 
   .
8. BASS +/-–  
 .
9. TRE +/-–   
.
10. EQ–   -
  .
Первая установка
Подготовка пульта
дистанционного управления
     
   .
      -
  6,   
,     
 - .
    ,
    
,  
 ,    
   
  ,
  .
    
  .
Замена батарейки пульта ДУ
1.      
,     
 .
2.    AAA (
 ).  , 
 (+)  (–)  
  
(+) (–)    .
3.     .
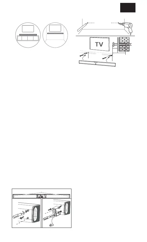
Размещение и крепление
A B
A:   (
    
 )
B:  
Настенный монтаж
ПРИМЕЧАНИЕ.
    
  .
    
    
  (  -
   
, ,  -
    , 
  
). ,  ,
   
   
    
 .
   -
  (  ).
  .
   
  .
    
 ,    
   -
.
914мм
914мм
1
3
2
> 32мм
4мм
(5мм)
4
914мм
Пористый
уплотнитель
914мм
914мм
1
3
2
> 32мм
4мм
(5мм)
4
914мм
Пористый
уплотнитель
1.    
.
2.    
    
    .
   
  ,
  
.
3.    2 
 (Ø 4 – 8  
   ). 
   
914 .
   -
    
.
4.     
   5. 
  
   
     
 .
RU

Other manuals for Sharp HT-SB140

Related product manuals