EasyManua.ls Logo

Sharp HT-SB140 - Page 74

Sharp HT-SB140
120 pages
Print Icon
To Next Page IconTo Next Page
To Next Page IconTo Next Page
To Previous Page IconTo Previous Page
To Previous Page IconTo Previous Page
Loading...
48
IT
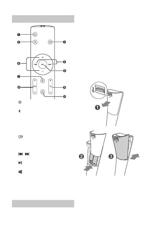
Telecomando
1. passa tra modalità ON e
STANDBY.
2.
seleziona la modalità Bluetooth.
Premi e tieni premuto per attivare la
funzione di accoppiamento in mo-
dalità Bluetooth o per disconnettere
il dispositivo attualmente collegato
via Bluetooth.
3.
seleziona la funzione di ripro-
duzione.
4. VOL+/VOL- – aumentano/riducono il
livello del volume.
5.
/ passa alla traccia successi-
va/precedente in modalità Bluetooth.
6.
avvia/mette in pausa/riprende la
riproduzione in modalità Bluetooth.
7.
(MUTE) – attiva o disattiva il
sonoro.
8. BASS +/- – regola il livello dei bassi.
9. TRE +/- – regola il livello degli alti.
10. EQ – Selezionano una modalità audio
preimpostata.
Prima installazione
Preparazione del telecomando
Il telecomando fornito permette di usare
il dispositivo dalla distanza.
Anche se il telecomando viene utiliz-
zato a una distanza funzionale di 6m, il
suo corretto funzionamento potrebbe
essere impedito da ostacoli posti tra
l’unità e il telecomando stesso.
Se il telecomando viene utilizzato vici-
no ad altri prodotto che generano raggi
infrarossi, oppure se altri telecomandi a
infrarossi sono utilizzati vicino all’unità,
potrebbe non funzionare correttamen-
te. O, viceversa, altri prodotti potrebbe-
ro non funzionare correttamente.
Sostituzione delle batterie del
telecomando
1. Premi e fai scorrere il coperchio
posteriore per aprire lo
scompartimento delle batterie sul
telecomando.
2. Inserisci due batterie di tipo AAA
(incluse). Assicurati che le estremità (+)
e (–) coincidano con le estremità (+)
e (–) indicate nello scompartimento
delle batterie.
3. Chiudi il coperchio dello
scompartimento delle batterie.

Other manuals for Sharp HT-SB140

Related product manuals