EasyManua.ls Logo

Sharp KH-6I35NS00-EU - Page 102

Sharp KH-6I35NS00-EU
110 pages
Go to English
To Next Page IconTo Next Page
To Next Page IconTo Next Page
To Previous Page IconTo Previous Page
To Previous Page IconTo Previous Page
Loading...
IT - 16
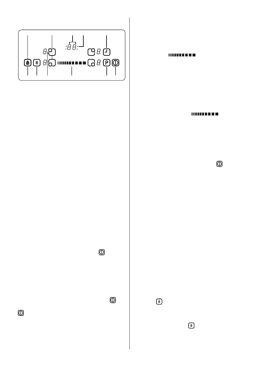
Unità di controllo touch
1 2 3 4 5
6 7 8 109 11
1- Indicatore blocco tasti
2- Selezione dell’elemento riscaldante
3- Display del timer
4- Indicatori della funzione timer della zona
di cottura
5- Selezione timer
6- Blocco tasti
7- Pausa intelligente
8- Selezione della zona Bridge
9- Regolatore di livello a scorrimento
10- Boost
11- On/Off (Accensione/Spegnimento)
Utilizzare le zone di cottura a induzione con
pentole adeguate.
Dopo aver applicato la tensione di rete, tutti
i display vengono illuminati brevemente.
Dopodiché, il piano di cottura è in modalità
stand-by e pronto per l'uso.
Il piano cottura si controlla premendo il
tasto elettronico appropriato. Ogni tasto
premuto viene seguito da un segnale
acustico.

Accendere il piano premendo il tasto ON/
OFF (Accensione/Spegnimento)
.Tutti i
display degli elementi riscaldanti mostrano
uno "0" statico e i punti in basso a destra
lampeggiano (se una zona di cottura non
viene selezionata entro 20 secondi, il piano
si spegne automaticamente).

È possibile spegnere il piano di cottura in
qualsiasi momento premendo il tasto
.
Il tasto ON/OFF (Accensione/Spegnimento)
ha sempre la priorità sulla funzione
spegnimento di sicurezza.
Accensione delle zone di cottura
Premere il tasto di selezione dell’elemento
riscaldante corrispondente a quello che
si desidera utilizzare. Un punto statico
verrà visualizzato sul display dell’elemento
riscaldante selezionato e i punti intermittenti
su tutti gli altri display degli elementi
riscaldanti si spegneranno.
Selezionare l'impostazione della
temperatura scorrendo il regolatore di livello
a scorrimento
. L'elemento è
ora pronto per l'uso. Per tempi di ebollizione
più rapidi, selezionare il livello di cottura
desiderato, quindi premere il tasto "P" per
attivare la funzione Boost.
Spegnimento delle zone di cottura
Selezionare l'elemento che si desidera
disattivare premendo il tasto di selezione
dell’elemento riscaldante. Portare la
temperatura a "0" utilizzando il regolatore
di livello a scorrimento
(anche
premendo contemporaneamente le parti
destra e sinistra del regolatore di livello a
scorrimento si riporta la temperatura a "0").
Se la zona di cottura è calda, verrà
visualizzato "H" anziché "0".
Spegnimento di tutte le zone di cottura
Per disattivare tutte le zone di cottura
in una sola volta, premere il tasto
(Accensione/Spegnimento).
In modalità stand-by, apparirà una "H" su
tutte le zone di cottura che sono calde.
Indicatore di calore residuo
L'indicatore di calore residuo indica che
l'area in vetroceramica ha una temperatura
pericolosa al tatto.
Dopo aver spento la zona di cottura, il
rispettivo display mostrerà "H" fino a
quando la temperatura della zona di cottura
corrispondente si troverà a un livello sicuro.
Pausa intelligente
La pausa intelligente, quando attivata,
riduce la potenza di tutti i bruciatori che
sono stati accesi.
Se si disattiva la pausa intelligente,
gli elementi riscaldanti torneranno
automaticamente al livello precedente.
Se la pausa intelligente non viene
disattivata, il piano cottura si spegneranno
dopo 30 minuti.
Premere
per attivare la pausa
intelligente. La potenza per l’elemento
riscaldante/i attivato/i si ridurrà al livello 1 e
"II" apparirà su tutti i display.
Premere nuovamente
per disattivare
la pausa intelligente. "II" scomparirà e gli
elementi riscaldanti funzioneranno al livello
precedentemente impostato.

Table of Contents

Related product manuals