EasyManua.ls Logo

Sharp LC-32G4U - Page 14

Sharp LC-32G4U
114 pages
Print Icon
To Next Page IconTo Next Page
To Next Page IconTo Next Page
To Previous Page IconTo Previous Page
To Previous Page IconTo Previous Page
Loading...
14
LC-32G4U/G4D
LC-37G4U/G4D
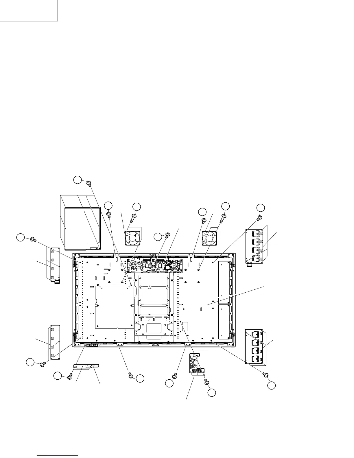
14. Remove the LCD CONT PWB mounting screw y to detach the LCD CONT PWB.
15. Remove the 6 POWER SUPPLY PWB mounting screws u to detach the POWER SUPPLY PWB.
16. Remove the 2 R/C LED PWB mounting screws i to detach the R/C LED PWB.
17. Remove the 4 INVERTER-1 PWB mounting screws o to detach the INVERTER-1 PWB.
18. Remove the 4 INVERTER-2 PWB mounting screws p to detach the INVERTER-2 PWB.
19. Remove the 3 INVERTER-1 GND PWB mounting screws a to detach the INVERTER-1 GND PWB.
20. Remove the 3 INVERTER-2 GND PWB mounting screws s to detach the INVERTER-2 GND PWB.
21. Remove the 4 SPEAKER TERMINAL PWB mounting screws d to detach the SPEAKER TERMINAL PWB.
22. Remove the 4 fan mounting screws f to detach the 2 fans.
23. Remove the 4 chassis mounting screws g, and remove the backlight chassis from cabinet A.
INVERTER-1
GND PWB
INVERTER-2
GND PWB
INVERTER-2 PWB
FAN
LCD CONT PWB
POWER SUPPLY PWB
SPEAKER TERMINAL PWB
R/C LED PWB
INVERTER-1 PWB
FAN
Backlight Chassis
Remove the connector.
23
20
18
22
21
24
24
19
25
25
16
25
25
17

Related product manuals