EasyManua.ls Logo

Sharp R-200J Series - Operation of Control Panel

Sharp R-200J Series
16 pages
Print Icon
To Next Page IconTo Next Page
To Next Page IconTo Next Page
To Previous Page IconTo Previous Page
To Previous Page IconTo Previous Page
Loading...
E – 6
A42184,SYA R200J O/M,
OPERATION OF CONTROL PANEL
Basic instructions are mentioned below.
1. Ensure the timer is set in the “ ” position and then plug the oven into a power point.
2. Pull the door open handle to open the door.
3. Place the roller stay on the coupling in the oven and seat the turntable on the roller stay.
4. Place food on the turntable and close the door securely.
5.
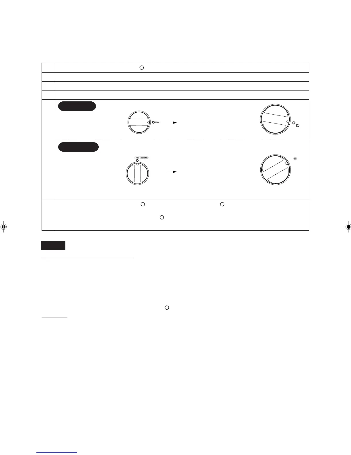
COOKING
Suppose you want to cook at HIGH for 10 min.
Select cooking control
setting to HIGH.
DEFROST
Suppose you want to defrost 0.5 kg meat.
Rotate the TIMER knob to
the desired cooking time
(10).
Select cooking
control setting to
DEFROST (MED).
6. The timer will count down to “ ”. When the timer reaches “ ”, a signal bell will sound and
the oven will automatically turn off. If you wish to stop cooking before the end of the
cooking time, turn the timer back to “
” or simply open the door.
Everytime the door is opened, the operation of microwave oven will stop immediately.
Rotate the TIMER knob to
the weight of the meat
(0.5 kg) as indicated on
the scale.
NOTE
GENERAL MICROWAVE COOKING
Whenever setting the timer for less than 2 minutes turn the timer past 2 minutes and then back
to the desired time.
The oven lamp will light during cooking process.
The oven door may be opened at any time during the cooking process.
If you wish to continue cooking, simply close the door.
If you wish to alter the power level or cooking time at any time during the operation, just turn the
COOKING CONTROL or TIMER to the desired setting.
BE SURE TO TURN THE TIMER BACK TO “
” AFTER COOKING.
DEFROST
The scale of the MEAT DEFROST GUIDE is calibrated for defrosting meat only.
To defrost other types of food, select the DEFROST (MED) setting and rotate the TIMER knob to
the required minutes.
The turntable will start to rotate and turn throughout the microwave cooking activity.
SYA R2OOJ EN P.01- 04.5.12, 9:13 AM6

Related product manuals