EasyManua.ls Logo

Sharp Scientific calculator - Binary, Pental, Octal, Decimal, and Hexadecimal Operations (N-Base)

Sharp Scientific calculator
35 pages
Print Icon
To Next Page IconTo Next Page
To Next Page IconTo Next Page
To Previous Page IconTo Previous Page
To Previous Page IconTo Previous Page
Loading...
27
Binary, Pental, Octal,
Decimal, and Hexadecimal
Operations (N-Base)
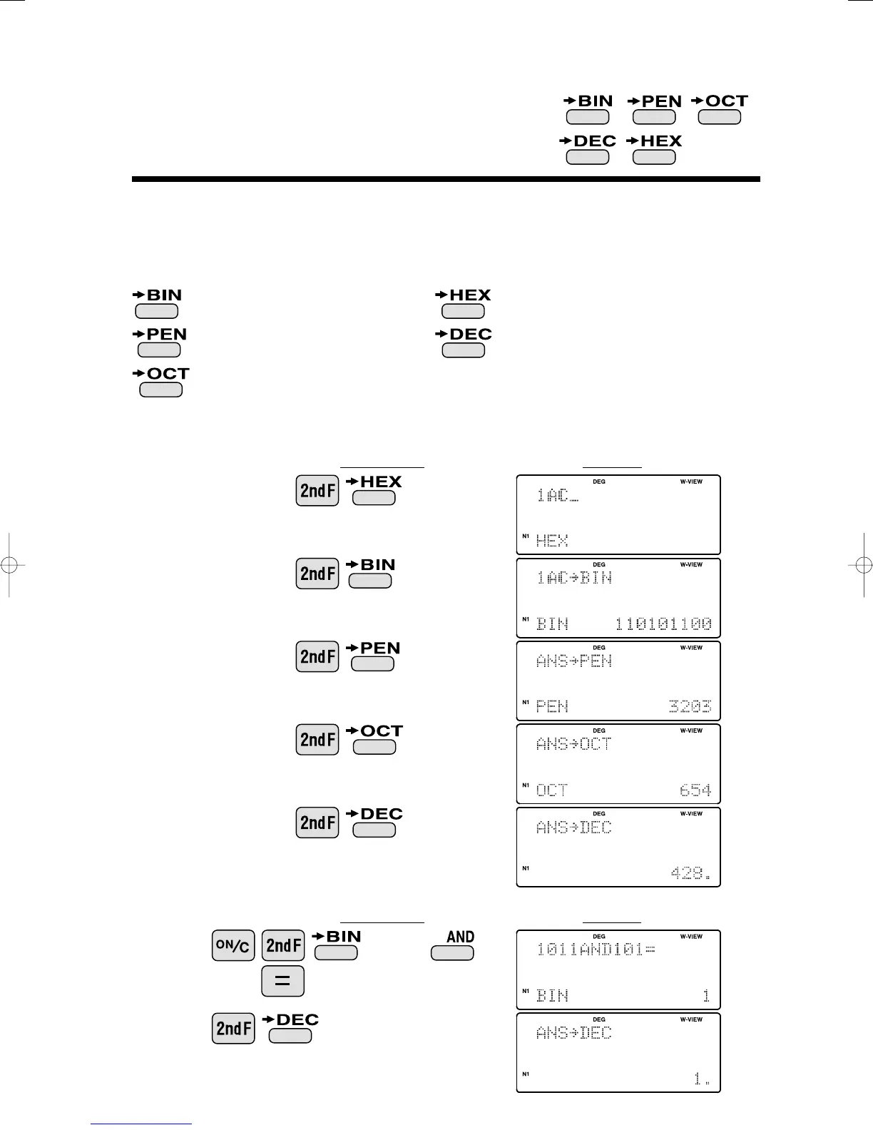
This calculator can perform conversions between numbers expressed in binary, pental, octal,
decimal, and hexadecimal systems. It can also perform the four basic arithmetic operations,
calculations with parentheses and memory calculations using binary, pental, octal, decimal,
and hexadecimal numbers. In addition, the calculator can carry out the logical operations
AND, OR, NOT, NEG, XOR, and XNOR on binary, pental, octal, and hexadecimal numbers.
Conversion is performed on the displayed value when these keys are pressed.
Operation Display
<Example 1>
HEX(1AC) BIN PEN OCT DEC
1011 AND 101 = (BIN) DEC
<Example 2>
Operation Display
1AC
1011
101
Converts to the binary system.
"BIN" appears.
Converts to the pental system.
"PEN" appears.
Converts to the octal system.
"OCT" appears.
Converts to the hexadecimal system.
"HEX" appears.
Converts to the decimal system.
"BIN", "PEN", "OCT", and "HEX"
disappear from the display.
GuideBookEL-W53107.2.52:48PMページ27

Related product manuals