EasyManua.ls Logo

Sharp SJ-43L-A2S - Parts Identification Guide

Sharp SJ-43L-A2S
32 pages
Print Icon
To Next Page IconTo Next Page
To Next Page IconTo Next Page
To Previous Page IconTo Previous Page
To Previous Page IconTo Previous Page
Loading...
5
SJ-43L-A2
SJ-47L-A2
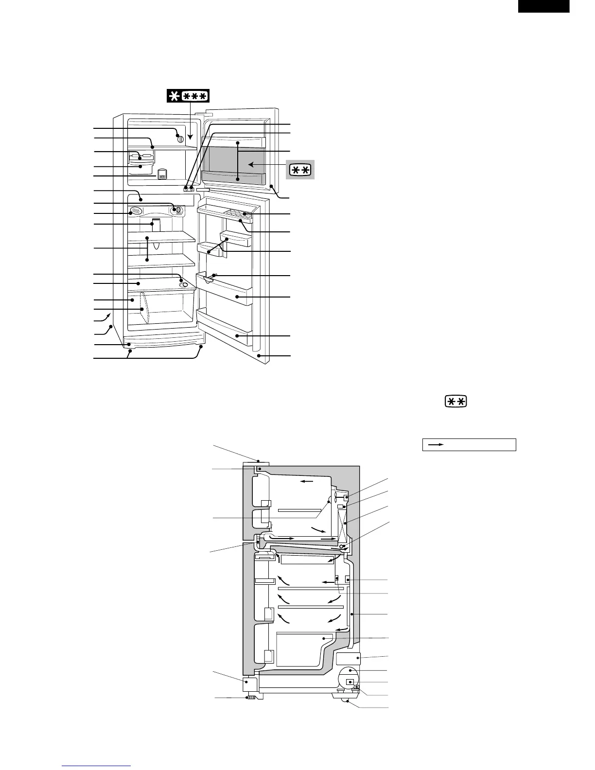
DESIGNATION OF VARIOUS PARTS
Upper hinge cover
Hot pipe
Freezer temp. control knob
Hot pipe
Ventilating grille
Adjustable leg ass'y
Fan motor
Defrost thermostat
Evaporator
Defrost heater
Damper thermostat
Refrigerator temp. control knob
Drain pipe
Vegetable case
Compressor
Starting relay, Overload relay(Protector)
Caster
Freezer
compartment
Refrigerator
compartment
Mark: Cold air flow
Evaporating pan
Defrost timer
Figure D-1. External Description
Figure D-2. Constructions
1
2
3
4
5
5
7
8
9
11
10
12
13
14
15
17
16
18
19
20
21
23
24
22
25
26
20
21
6
1. Freezer temp. control knob
2. Freezer shelf(Freezer tray)
3. Ice cube maker
4. Ice cube box(Ice storage box)
5. Deodorizing unit
6. Fresh case
7. Refrigerator temp. control knob
8. Light(Lamp)
9. Refrigerator shelf(Refrigerator tray)
10. Lever
11. Shelf(Vegetable tray)
12. Vegetable crisper(Vegetable case)
13. Separator plate(V parting plate)
14. Evaporating pan
15. Casters
16. Ventilating grille
17. Adjustable feet(Adjustable leg ass'y)
18. Fan switch
19. Fan & light switch
20. Utility pocket(Door pocket)
21. Magnetic door seal(Door packing)
22. Egg holder(Egg tray)
23. Egg pocket(R door pocket)
24. Small pocket(R door pocket S)
25. Bottle guard(Bottle stopper)
26. Bottle pocket
NOTE : 2 star section for storing
frozen food only. (not freezing)
The names are the denominations used in the
REPLACEMENT PARTS LIST.

Related product manuals