EasyManua.ls Logo

Sharp SJ-68L-T2S - Designation of Parts

Sharp SJ-68L-T2S
16 pages
Print Icon
To Next Page IconTo Next Page
To Next Page IconTo Next Page
To Previous Page IconTo Previous Page
To Previous Page IconTo Previous Page
Loading...
5
SJ-68L-T2
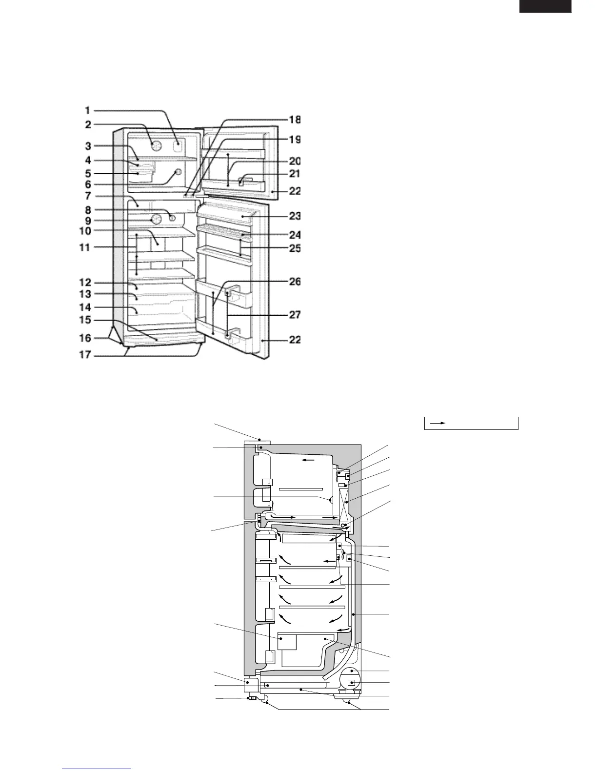
DESIGNATION OF VARIOUS PARTS
The names are the denominations used in the
REPLACEMENT PARTS LIST.
1. Freezer light(Lamp)
2. Freezer fan
3. Freezer shelf(F shelf ass'y)
4. Ice cube maker
5. Ice cube box(Ice storage box)
6. Freezer temp. control knob
7. Chilled case
8. Refrigerator temp. control knob
9. Refrigerator fan
10. Refrigerator light(Lamp)
11. Refrigerator shelf(R glass shelf ass'y)
12. Shelf(V glass shelf ass'y)
13. Fruit case
14. Vegetable crisper(Vegetable case)
15. Evaporating pan & cover
16. Caster
17. Adjustable feet(Adjustable leg ass'y)
18. Fan & light switch(for freezer)
19. Fan & light switch(for refrigerator)
20. Freezer pocket(F door pocket)
21. Water cup
22. Magnetic door seal(Door packing)
23. Utility pocket(Utility case pocket)
24. Egg holder(Egg tray)
25. Free pocket(R door pocket)
26. Bottle pocket
27. Bottle guard(Tube stand)
Upper hinge cover
Hot pipe
Freezer temp. control knob
Hot pipe
Ventilating grille
Evaporating pan
Adjustable leg ass’y
Fan motor
Freezer fan
Defrost thermostat
Evaporator
Defrost heater
Damper thermostat
Refrigerator temp. control knob
Drain pipe
Vegetable case
Compressor
Starting relay, Overload relay(Protector)
Caster
Sub. condenser
Freezer
compartment
Refrigerator
compartment
Fruit case
Mark: Cold air flow
Timer, R-fan themo. ass’y
Refrigerator fan
Figure D-1. External Description
Figure D-2. Constructions

Related product manuals