EasyManua.ls Logo

Sharp SJ-PT520R - Regulácia Teplôt

Sharp SJ-PT520R
116 pages
Print Icon
To Next Page IconTo Next Page
To Next Page IconTo Next Page
To Previous Page IconTo Previous Page
To Previous Page IconTo Previous Page
Loading...
77
Ionizátor „Plasmacluster“
Ionizátor „Plasmacluster“ sa uvádza do činnosti
automaticky po zapnutí napájania chladničky.
Zrušit' činnost'
Stlačte tlačidlo “ ” (kontrolka zhasne).
Spustenie činnosti
Znovu stlačte tlačidlo “ ”.
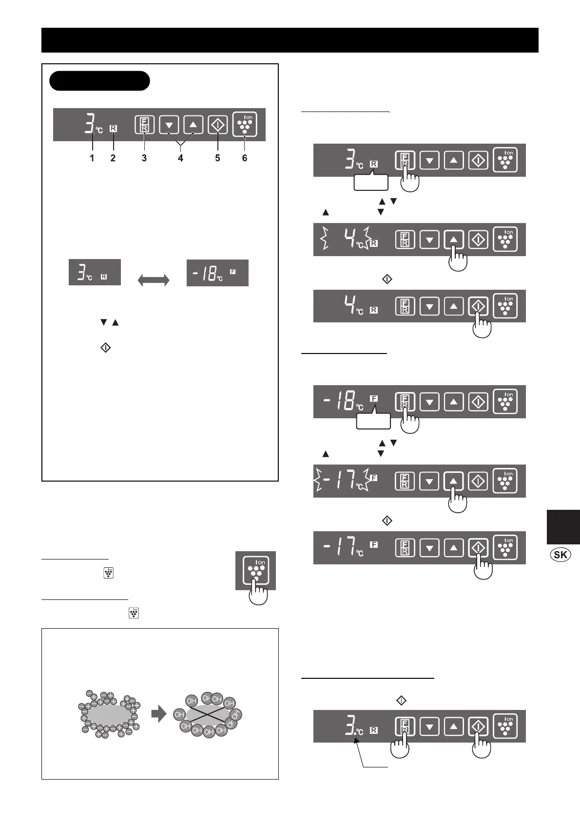
Regulácia teplôt
Teplota v chladničke sa reguluje automaticky. V prípade
SRW UHE\ P Rå Q R W HSORW X DM Q DVW DYRYDW
Priestor chladničky
Nastaviteľná medzi 0 °C a 6 °C v krokoch po 1 °C.
1
Stlačte tlačidlo voľby.
2
Stlačte tlačidlo / a nastavte teplotu.
> ] Yê ã HQ LH ] Q HQ LH @
3
Stlačte tlačidlo „ “.
Priestor mrazničky
Nastaviteľná medzi -13 °C a -21 °C v krokoch po 1 °C.
1
Stlačte tlačidlo voľby.
2
Stlačte tlačidlo / a nastavte teplotu.
> ] Yê ã HQ LH ] Q HQ LH @
3
Stlačte tlačidlo „ “.
9ê VW UDå Q i VLJQ DOL] i FLD G YHUt
Keď zostanú dvere chladničky alebo mrazničky otvorené,
] DSQ H VD Yê VW UDå Q i VLJQ DOL] i FLD
9ê VW UDå Q i VLJQ DOL] i FLD G YHUt VD ] DSQ H P LQ ~ W X SR
RW YRUHQ t G YHUt D SRW RP ] Q RYX SR P LQ ~ W H UD] Y NDå G RP
prípade).
$ N G YHUH ] RVW DQ ~ RW YRUHQ p DVL P LQ ~ W \ Yê VW UDå Q i
VLJQ DOL] i FLD EX G H ] Q LHW Q HSUHW Uå LW H
= UX ã LW Yê VW UDå Q ~ VLJQ DOL] i FLX
Stlačte tlačidlo voľby nepretr ite na 3 sekundy alebo viac a
zároveň stlačte tlačidlo “ ”.
- H W R URYQ DNê VS{ VRE DNR SUL UHã W DUW RYDQ t Yê VW UDå Q HM VLJQ DOL] i FLH
PREVÁDZKA
1. = REUD] HQ LH Q DVW DYHQ LD W HSORW \
Zobrazí sa predvolená teplota zvoleného priestoru. Nie
je to skutočná teplota v priestore.
2. = REUD] HQ LH SUH ] YROHQ ê SULHVW RU
3. TlačLG OR YRľby
= YROHQ ê SULHVW RU VD G i P HQ LW VW ODčením zvoleného
tlačidla.
4. Tlačidlo /
3RX å tYD VD Q D Q DVW DYHQ LH W HSORW \
5. Tlačidlo
3RX å tYD VD Q D X NRQ čenie nastavenia teploty.
6. Tlačidlo a zobrazenie funkcie ionizátora
„Plasmacluster
Stlačte na spustenie / zrušenie činnosti ionizátora
„Plasmacluster“
POZNÁMKA:
Zobrazenie nastavenia teploty a zvoleného priestoru
zhasne, keď sa počas 1 minúty nič nedeje. (Po stlačení
ktoréhokoľvek z tlačidiel sa zobrazenie znovu rozsvieti.)
Zobrazenie funkcie ionizátora „Plasmacluster“ zostane
rozsvietené.
2 YOi G DFt SDQ HO
Stlačte
tlačidlo voľby
Počiatočné zobrazenie
pre priestor chladničky
Počiatočné zobrazenie
pre priestor mrazničky
Poznámky k funkcii ionizátora „Plasmacluster“
,RQ L] i W RU X YRO ňuje do mraziaceho i chladiaceho priestoru
chladničky zhluky iónov tvorených zmesou kladných a
záporných iónov. Tieto zhluky iónov obmedzujú tvorbu
vzduchom roznášaných plesní.
V chladničNH P Rå Q R FtW LW P LHUQ X DUyP X - H W R Y{ ňa ozónu
Y\ Ui EDQ pKR LRQ L] i W RURP 0 Q Rå VW YR R] yQ X Y FKODG Q Lčke je
minimálne a rýchlo sa rozkladá.
pleseň
svieti
svieti
= REUD] t VD ] DVW DYHQ LH Yê VW UDå Q HM
signalizácie dverí.
(A885)74‑79Slo.fmPage77Monday,March3,20086:55PM

Table of Contents

Related product manuals