EasyManua.ls Logo

Sharp SJ-PT561R - Эксплуатация

Sharp SJ-PT561R
12 pages
Print Icon
To Next Page IconTo Next Page
To Next Page IconTo Next Page
To Previous Page IconTo Previous Page
To Previous Page IconTo Previous Page
Loading...
4
"&'.>0$&, “Plasmacluster”
L$()8'%$& “Plasmacluster” '.%$"'%)6#3-) ('6)('#%
&'5$%7 +&) .-0;6#()) "$&$8)0*($9 -'"#&!
=$0$,)0*()-'.
J-5 &$+*'2 &6*,0<..
4'@")%# -($+-7 ” (P.#% 1'3(#%).
J-5 '0M0-0 &6*,0<..
P($.' ('@")%# -($+-7 ”.
1*78-.,&#/0 O*+6*,0$8,2
N$0$,)0*()- &#170)&7#% %#"+#&'%7&7 '.%$"'%)6#3-).
G,('-$, #30) (#$5=$,)"$, 73%'($.)%# %#"+#&'%7&7
30#,7;:)" $5&'8$".
Q&-&;.-='05 /0+*,0
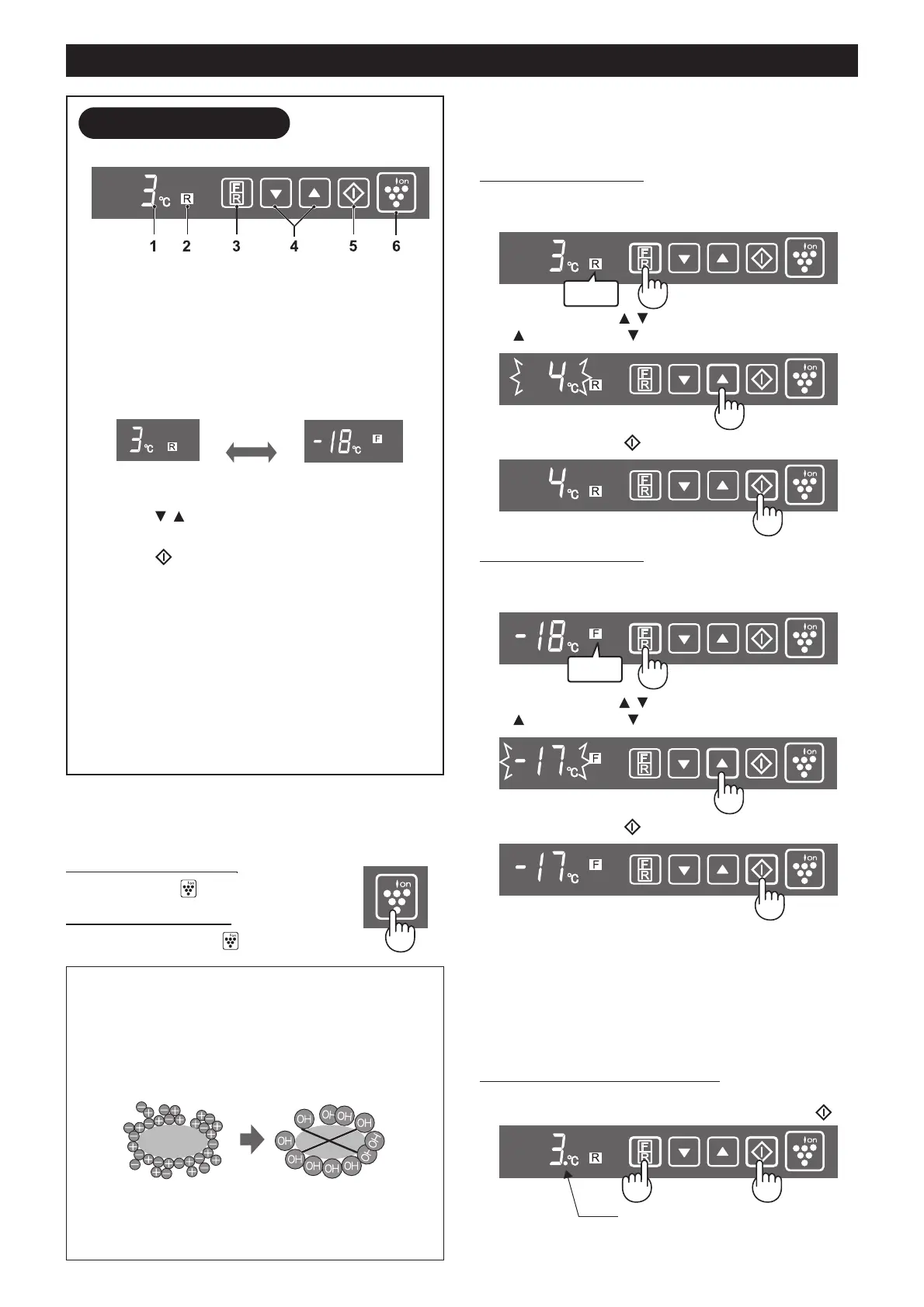
K#170)&7#%3/ . +&#,#0'= $% 0°C ,$ 6°C 3 ?'1$" 1°C.
1
4'@")%# -($+-7 .!5$&'.
2
4'@")%# -($+-7 / ) 73%'($.)%# %#"+#&'%7&7.
[ : 7.#0)6#()#, : 7"#(*?#()# ]
3
4'@")%# -($+-7 ”.
9&,&>.-='05 /0+*,0
K#170)&7#%3/ . +&#,#0'= $% -13°C ,$ -21°C 3 ?'1$" 1°C.
1
4'@")%# -($+-7 .!5$&'.
2
4'@")%# -($+-7 / ) 73%'($.)%# %#"+#&'%7&7.
[ : 7.#0)6#()#, : 7"#(*?#()# ]
3
4'@")%# -($+-7 ”.
!.7'0- &$/,2$&: ;#*,<2
230) ,.#&C' =$0$,)0*()-' )0) "$&$8)0*()-' $3%'.0#('
$%-&!%$9, ('6(#% 8.76'%* 3)1('0 $%-&!%$9 ,.#&C!.
Q.7-$.$9 3)1('0 57,#% 8.76'%* 6#&#8 1 ")(7%7 +$30#
$%-&!.'()/ ,.#&C! ) #:# &'8 6#&#8 1 ")(7%7 ($,)(
&'8 . -'@,$" 3076'#).
230) ,.#&C' 57,#% $3%'.'%*3/ $%-&!%$9 . %#6#()#
+&)50)8. 3 ")(7%, 3)1('0 57,#% 8.76'%* (#+&#&!.($.
J-5 &$+*'2 >#8/&#&7& (.7'0-0
4'@)"'9%# -($+-7 .!5$&' (#+&#&!.($ . %#6#()# 3 3#-7(,
)0) 5$0##, $,($.&#"#(($ 7,#&@).'/ ('@'%$9 -($+-7 ”.
R%$ .!+$0(/#%3/ %'-)" @# "#%$,$", -'- ) +$.%$&($#
.-0;6#()# 3)1('0'.
RK!3S BOBT"U
1. J.(6-*: 8($0'&#/. $*+6*,0$8,2
4' ,)3+0## +$-'8'(' +&#,.'&)%#0*($
73%'($.0#(('/ %#"+#&'%7&' .!5&'(($9 -'"#&!.
R%$ (# D'-%)6#3-'/ %#"+#&'%7&' -'"#&!.
2. J.(6-*: #2?,0''&: /0+*,2
3. K'&6/0 #2?&,0
L8"#()%* .!5$& -'"#&! "$@($ 3 +$"$:*; ,'(($9
-($+-).
4. K'&6/0 /
L3+$0*87#%3/ ,0/ 73%'($.-) %#"+#&'%7&!.
5. K'&6/0
Q'.#&?'#% 73%'($.-7 %#"+#&'%7&!.
6. K'&6/0 .&'.>0$&,0 “Plasmacluster” .
;.(6-*:
4'@")%# ,0/ .-0;6#()//$%-0;6#()/ )$()8'%$&'
“Plasmacluster”.
31"9@ABC"@
A)3+0#9 73%'($.-) %#"+#&'%7&! ) .!5&'(($9
-'"#&! $%-0;6)%3/ +&) $%37%3%.)) ,#93%.)9 .
%#6#()# 1 ")(7%!. (G( 3($.' .-0;6)%3/ +&) ('@'%))
0;5$9 )8 -($+$-.)
A)3+0#9 )$()8'%$&' “Plasmacluster” $3%'#%3/
$3.#:#((!".
30'*-= 86,0#-*'.5
4'@")%#
-($+-7 .!5$&'
>#&.$('6'0*(!9 ,)3+0#9
,0/ =$0$,)0*($9 -'"#&!
>#&.$('6'0*(!9 ,)3+0#9
,0/ "$&$8)0*($9 -'"#&!
3,.+*M0'.5 &$'&(.$*-='& H8'/<.&'.,&#0'.5
"&'.>0$&,0 “Plasmacluster”
L$()8'%$& .(7%&) "$&$8)0*($9 -'"#&! '?#1$
=$0$,)0*()-' .!&'5'%!.'#% )$(!, -$%$&!#
+&#,3%'.0/;% 3$5$9 1&7++$.!# "'33! +$0$@)%#0*(!= )
$%&)C'%#0*(!= )$($. . "$&$8)0*($9 ) =$0$,)0*($9
-'"#&#. R%) 1&7++! )$($. ,#'-%).)&7;% +#&#($3)"!#
+$ .$8,7=7 1&)5-) +0#3#().
"$&$8)0*($9 -'"#&# =$0$,)0*()-' "$@#% 5!%*
(#8('6)%#0*(!9 8'+'=. G( +&#,3%'.0/#% 8'+'= $8$(',
1#(#&)&7#"$1$ )$()8'%$&$". <$0)6#3%.$ $8$('
/.0/#%3/ ")()"'0*(!", ) $( 5!3%&$ &'80'1'#%3/ ('
3$3%'.(!# 6'3%) . "$&$8)0*($9 -'"#&# =$0$,)0*()-'.
E,.?/.
6-*(*'.
1$&)%
1$&)%
S-'8!.'#% (' +&#-&':#()#
3)1('0' $%-&!%$9 ,.#&C!.
(A882)Rus.fmPage4Thursday,February14,20081:11PM

Related product manuals