EasyManua.ls Logo

Shini SHD-200 - Page 9

Shini SHD-200
111 pages
Print Icon
To Next Page IconTo Next Page
To Next Page IconTo Next Page
To Previous Page IconTo Previous Page
To Previous Page IconTo Previous Page
Loading...
9(111)
1. 安装
安装定位需注意
1) 机器只能安装在垂直位置确保所选的安装位置上方和邻近区域无任何
机器安装作业或对物、使用人员造成危险管道、固或其他物体。
2) 便维护建议在机器四周留有 1m 的空请将本装置与易燃物品
持至少 2m 距离。
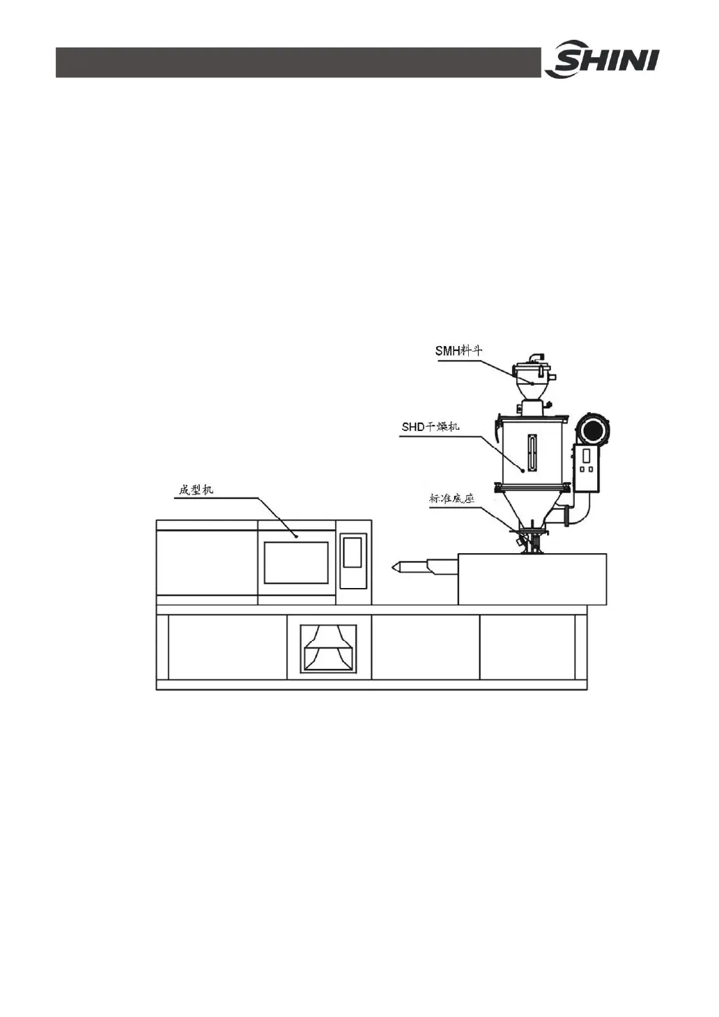
1.1 直接安装型
Pic. 1-1装型
直接安装型即将干燥机 一个准底座直接安装在型机
SHD-12~300 可用此种安装方也可使用脚架安装型SHD-400 上机型需使
脚架安装型
以此安装干燥机时,所的标准底座一要按照成型机料口的尺寸进行
钻孔然后用螺丝将底座与成型机料口锁紧固

Related product manuals