EasyManua.ls Logo

Shini SHD-50 - Floor Stand Installation; Safety Regulations; Safety Signs and Labels

Shini SHD-50
111 pages
Print Icon
To Next Page IconTo Next Page
To Next Page IconTo Next Page
To Previous Page IconTo Previous Page
To Previous Page IconTo Previous Page
Loading...
10(111)
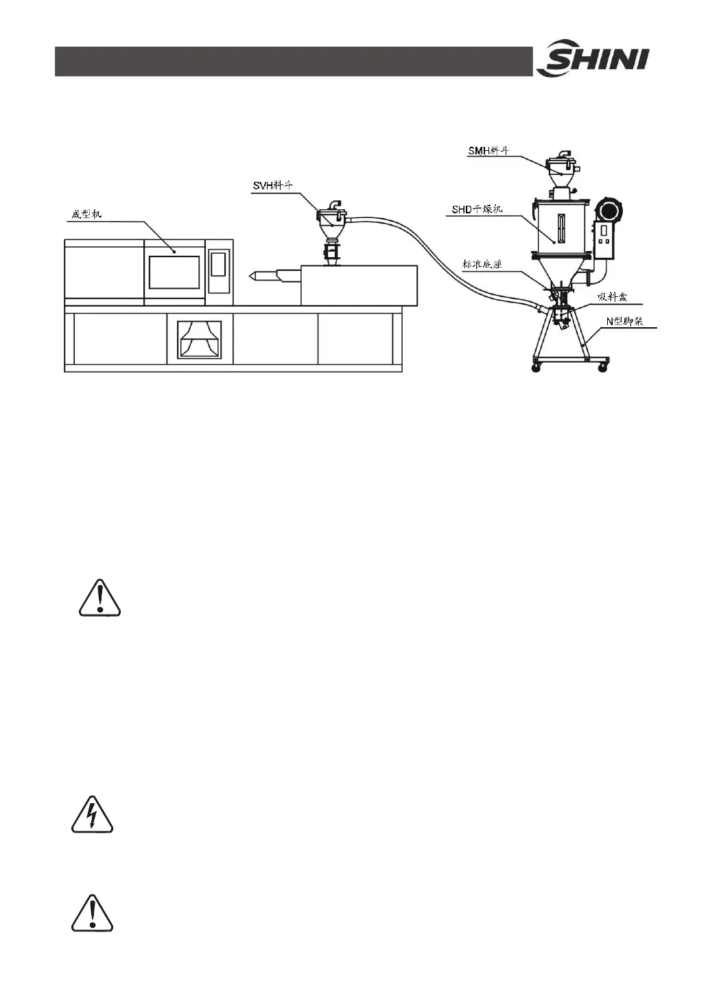
1.2 脚架安装型
Pic. 1-2装型 Floor stand installation
脚架安装型即将安装脚架上,后通一个斗把至成型机
口,SHD-400 机型需使用脚架安装型
机器于一个平上,确保平衡。如需安装在一个升高面上
夹层等)确保其结构和小足承受机器的重量
2. 安全规则
注意:
电器安装由专的电工来安装
在电接入确定电源开关规格负荷定电流是否适当安全,
意在接电源前主电关调"OFF"状态。在机器
时,先关闭源开关自动运开关
2.1 安全标志
危险
危险
签贴在电盒外壳
注意